|
На данной странице представлена ознакомительная часть выбранного Вами патента
Для получения более подробной информации о патенте (полное описание, формула изобретения и т.д.) Вам необходимо сделать заказ. Нажмите на «Корзину»
| СПОСОБ ОБОГАЩЕННОГО СЖИГАНИЯ С ИСПОЛЬЗОВАНИЕМ ТВЕРДЫХ ЭЛЕКТРОЛИТНЫХ ИОННЫХ ПРОВОДЯЩИХ СИСТЕМ |  |
Номер публикации патента: 2170388 |  |
| Редакция МПК: | 7 | | Основные коды МПК: | F23C011/00 B01D053/22 B01D061/00 | | Аналоги изобретения: | EP 0778069 A1, 04.12.1996. RU 2035981 C1, 27.05.1995. RU 2048176 C1, 20.11.1995. RU 2033249 С1, 20.04.1995. SU 1769792 A3, 15.10.1992. US 5160713 A, 03.11.1992. US 5516359 A, 14.05.1996. US 4545787 A, 08.10.1985. |
| Имя заявителя: | ПРАКСАЙР ТЕКНОЛОДЖИ, ИНК. (US) | | Изобретатели: | ПРАСАД Рави (US) ГОТТЗМАНН Кристиан Фридрих (US) ДРНЕВИЧ Раймонд Френсис (US) КЕСКАР Нитин Рамеш (US) КОБАЯСИ Хисаси (US) | | Патентообладатели: | ПРАКСАЙР ТЕКНОЛОДЖИ, ИНК. (US) | | Номер конвенционной заявки: | 08/868,962 | | Страна приоритета: | US | | Патентный поверенный: | Томская Елена Владимировна |
Реферат |  |
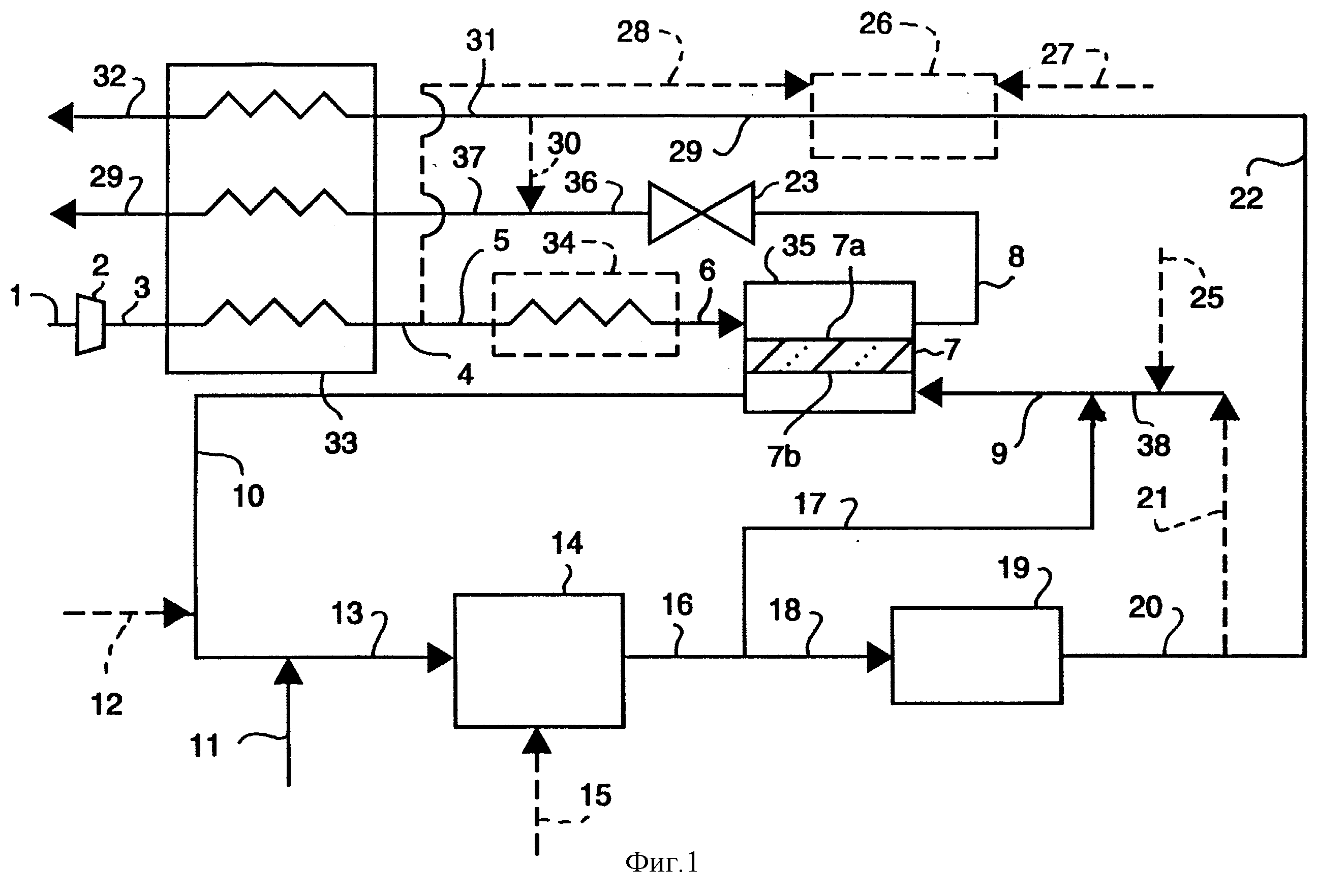
Изобретение относится к объединению способов сжигания, усиленного кислородом, и отделения кислорода с использованием твердых электролитных ионных проводящих мембран. Способ заключается в том, что разделяют поток подаваемого газа, содержащего элементарный кислород, на обогащенный кислородом поток газа и на обедненный кислородом поток газа, в котором обогащенный кислородом поток газа используют в камере сгорания, при этом осуществляют сжатие подаваемого газового потока, отделение кислорода от сжатого потока газа с использованием ионно-транспортного модуля, при этом очищенный кислородный газовый поток смешивают с другими газовыми компонентами на проникающей стороне с образованием обогащенного кислородом газового потока, продувку проникающей стороны ионно-транспортной мембраны по меньшей мере частью газового потока продуктов сгорания, полученного от сжигания в камере сгорания газового потока, выходящего с проникаемой стороны ионно-транспортного модуля. Изобретение позволяет повысить экономическую эффективность, снизить выброс вредных веществ в окружающую среду после процесса сжигания. 9 з.п. ф-лы, 4 ил., 3 табл.
|