|
На данной странице представлена ознакомительная часть выбранного Вами патента
Для получения более подробной информации о патенте (полное описание, формула изобретения и т.д.) Вам необходимо сделать заказ. Нажмите на «Корзину»
| ВЕРТИКАЛЬНАЯ ТОПКА |  |
Номер публикации патента: 2162567 |  |
| Редакция МПК: | 7 | | Основные коды МПК: | F23C007/02 | | Аналоги изобретения: | RU 2143639 C1, 27.12.1999. RU 2132016 C1, 20.06.1999. GB 1165169 A, 24.09.1969. US 4060374 A, 29.11.1977. FR 2701540 A1, 19.08.1994. |
| Имя заявителя: | Валюжинич Михаил Александрович | | Изобретатели: | Валюжинич М.А. | | Патентообладатели: | Валюжинич Михаил Александрович |
Реферат |  |
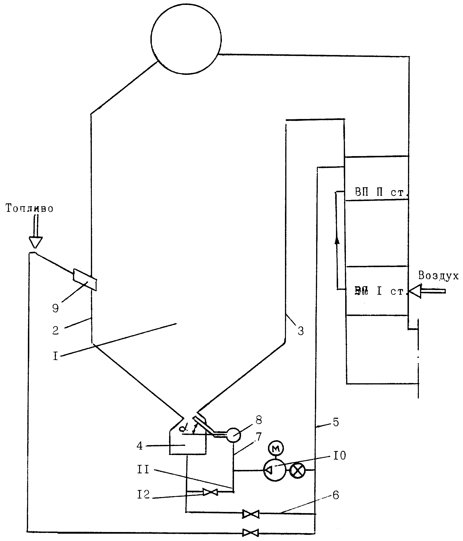
Изобретение может быть использовано для камерного сжигания твердого топлива, преимущественно гидролизного лигнина и измельченных кородревесных отходов, в топках промышленных и энергетических котлов. Топливо в топке подвергают сжиганию в низкотемпературном вихре, причем технический результат - аэродинамическую стабильность низкотемпературного вихря - обеспечивают подачей воздуха через сопла устройства нижнего дутья непосредственно от высоконапорного вентилятора, а снижение потерь с механическим недожогом дополнительно достигают за счет подачи воздуха в устройство нижнего дутья непосредственно от напорного воздуховода. 1 з.п.ф-лы, 1 ил.
|