|
На данной странице представлена ознакомительная часть выбранного Вами патента
Для получения более подробной информации о патенте (полное описание, формула изобретения и т.д.) Вам необходимо сделать заказ. Нажмите на «Корзину»
| ТЕПЛОВОЙ АГРЕГАТ НА ТВЕРДОМ ТОПЛИВЕ |  |
Номер публикации патента: 2162192 |  |
| Редакция МПК: | 7 | | Основные коды МПК: | F23B007/00 | | Аналоги изобретения: | SU 1226941 A, 23.11.1986. SU 1483229 A1, 30.05.1989. RU 2134838 C1, 20.08.1999. US 4007696 A, 15.02.1977. EP 0152317 A1, 21.08.1985. |
| Имя заявителя: | Степанов Николай Павлович | | Изобретатели: | Степанов Н.П. | | Патентообладатели: | Степанов Николай Павлович |
Реферат |  |
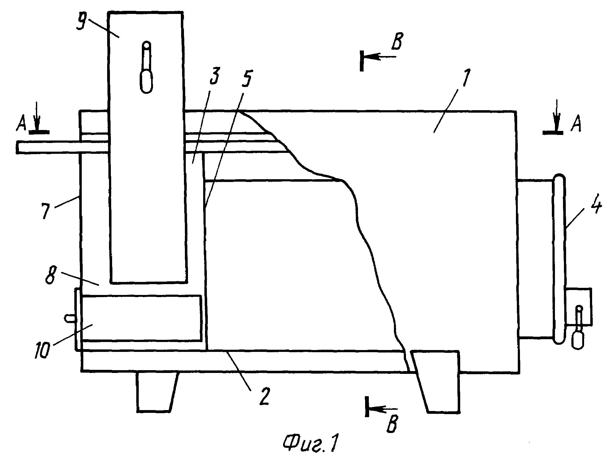
Тепловой агрегат на твердом топливе содержит размещенную в охлаждаемом кожухе топку с газоходом. В топке установлена поперечная перегородка с окном для удаления продуктов сгорания, образующая с задней торцевой стенкой кожуха отсек, подключенный к дымовой трубе, под которой в указанном отсеке размещен выдвижной сборник конденсата. В верхней части топки выполнен защитный экран, над которым расположен трубчатый водонагреватель, входной и выходной патрубки которого закреплены в задней стенке кожуха. В нижней его части выполнена продольная прорезь для подвода холодного атмосферного воздуха, а в его верхней части - выпускные отверстия для нагретого воздуха. Изобретение позволяет повысить экономичность при сжигании твердого топлива в топках тепловых агрегатов. 3 ил.
|