|
На данной странице представлена ознакомительная часть выбранного Вами патента
Для получения более подробной информации о патенте (полное описание, формула изобретения и т.д.) Вам необходимо сделать заказ. Нажмите на «Корзину»
| КОТЕЛЬНАЯ УСТАНОВКА |  |
Номер публикации патента: 2181178 |  |
| Редакция МПК: | 7 | | Основные коды МПК: | F22B009/02 | | Аналоги изобретения: | SU 87586 А, 03.08.1959. SU 1824507 A1, 30.06.1993. SU 1795696 A1, 20.04.1996. SU 1551015 A1, 10.08.1996. SU 141968 A, 18.10.1961. |
| Имя заявителя: | Бланк Аркадий Зельманович | | Изобретатели: | Бланк А.З. Ковган П.А. Гуров В.И. Стойко И.И. | | Патентообладатели: | Бланк Аркадий Зельманович Ковган Павел Авксентьевич Гуров Валерий Игнатьевич Стойко Игорь Ипполитович |
Реферат |  |
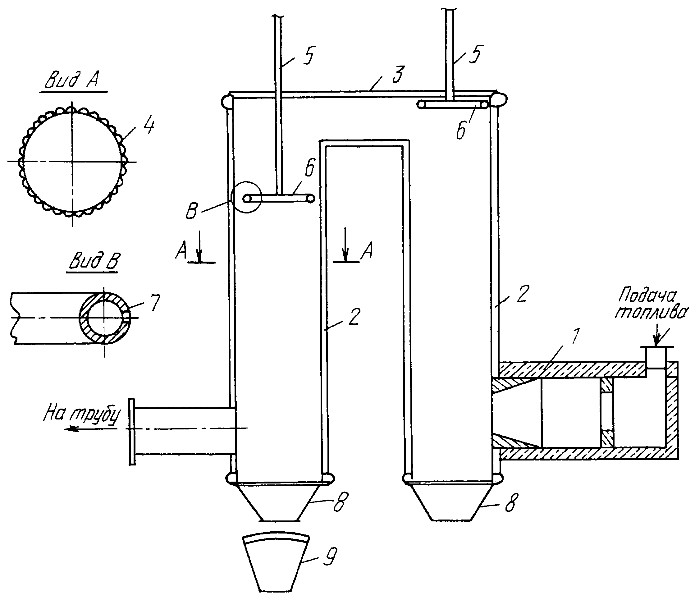
Изобретение относится к теплоэнергетике, в частности к тепловым котельным установкам, сжигающим твердое малозольное топливо. Котельная установка, сжигающая твердое малозольное топливо, включает циклонную топочную камеру, соединенную с газоходом, поверхности нагрева которого включены в циркуляционный контур котельного агрегата, при этом газоход выполнен в виде двух вертикальных цилиндрических шахт, соединенных между собой в верхней части горизонтальным газоходом, причем отношение высоты вертикальной шахты к ее внутреннему диаметру составляет 6-8, кроме того, в каждой вертикальной шахте установлены с возможностью возвратно-поступательного перемещения связанные с системой подачи воздуха трубчатые штоки, снабженные тороидальными коллекторами, наружный диаметр которых составляет 0,8-0,9 внутреннего диаметра шахты, при этом по наружной окружности коллектора выполнены щелевидные отверстия, общая длина которых составляет 0,6-0,7 длины окружности тороидального коллектора. Такое выполнение котельной установки обеспечивает повышение степени осаждения золы, уносимой потоком дымовых газов из топки, на стенках газохода, а также позволяет проводить эффективную очистку указанных поверхностей. 1 ил.
|