Промышленная Сибирь Ярмарка Сибири Промышленность СФО Электронные торги НОУ-ХАУ Электронные магазины Карта сайта
 
 

Поиск патентов

Как искать?
Реферат
Название
Публикация
Регистрационный номер
Имя заявителя
Имя изобретателя
Имя патентообладателя

    





Оформить заказ и задать интересующие Вас вопросы Вы можете напрямую c 6-00 до 14-30 по московскому времени кроме сб, вс. whatsapp 8-950-950-9888

На данной странице представлена ознакомительная часть выбранного Вами патента

Для получения более подробной информации о патенте (полное описание, формула изобретения и т.д.) Вам необходимо сделать заказ. Нажмите на «Корзину»


МЕТАЛЛОГИДРИДНЫЙ АККУМУЛЯТОР ДЛЯ ХРАНЕНИЯ ВОДОРОДА

Номер публикации патента: 2450203

Вид документа: C2 
Страна публикации: RU 
Рег. номер заявки: 2010146599/06 
  Сделать заказПолучить полное описание патента

Редакция МПК: 
Основные коды МПК: F17C011/00    
Аналоги изобретения: RU 87775 U1, 20.10.2009. SU 1105719 A1, 30.07.1984. SU 1807294 A1, 07.04.1993. US 6936185 B1, 30.08.2005. WO 96/35079 A1, 07.11.1996. 

Имя заявителя: Голодяев Александр Иванович (RU),
Доброквашин Евгений Александрович (RU),
Сукочев Андрей Иванович (RU),
Шалимов Юрий Николаевич (RU) 
Изобретатели: Голодяев Александр Иванович (RU)
Доброквашин Евгений Александрович (RU)
Сукочев Андрей Иванович (RU)
Шалимов Юрий Николаевич (RU) 
Патентообладатели: Голодяев Александр Иванович (RU)
Доброквашин Евгений Александрович (RU)
Сукочев Андрей Иванович (RU)
Шалимов Юрий Николаевич (RU) 

Реферат


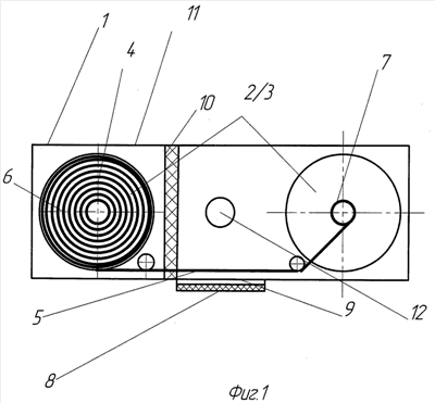
Изобретение относится к области водородной энергетики и может быть использовано для хранения, транспортировки и распределения (подачи) водорода в топливных элементах и других энергетических установках. Металлогидридный аккумулятор для хранения водорода включает корпус и батарею топливных элементов. Батарея выполнена в виде двух катушек, выполненных с возможностью наматывания на них широкой ленты из сплава металла и перематывания ее с одной катушки на другую. На одной из катушек сплав металла соединен с водородом с образованием металлогидрида Al(BH4) 3 или Bi(BH4)2 с высоким содержанием водорода. Лента проходит между катушками около термовыделяющего электрического элемента, расположенного вне корпуса, с обеспечением выделения из нее водорода. Корпус имеет застекленное окно. Катушки разделены термоизолирующей перегородкой. Использование изобретения позволит обеспечить быструю отдачу необходимой порции водорода за короткое время. 1 ил.

Дирекция сайта "Промышленная Сибирь"
Россия, г.Омск, ул.Учебная, 199-Б, к.408А
Сайт открыт 01.11.2000
© 2000-2018 Промышленная Сибирь
Разработка дизайна сайта:
Дизайн-студия "RayStudio"