Промышленная Сибирь Ярмарка Сибири Промышленность СФО Электронные торги НОУ-ХАУ Электронные магазины Карта сайта
 
 

Поиск патентов

Как искать?
Реферат
Название
Публикация
Регистрационный номер
Имя заявителя
Имя изобретателя
Имя патентообладателя

    





Оформить заказ и задать интересующие Вас вопросы Вы можете напрямую c 6-00 до 14-30 по московскому времени кроме сб, вс. whatsapp 8-950-950-9888

На данной странице представлена ознакомительная часть выбранного Вами патента

Для получения более подробной информации о патенте (полное описание, формула изобретения и т.д.) Вам необходимо сделать заказ. Нажмите на «Корзину»


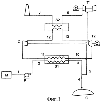
СПОСОБ И УСТРОЙСТВО ДЛЯ ИСПАРЕНИЯ СЖИЖЕННОГО ПРИРОДНОГО ГАЗА И ЕГО ХРАНЕНИЯ

Номер публикации патента: 2464480

Вид документа: C2 
Страна публикации: RU 
Рег. номер заявки: 2008152233/06 
  Сделать заказПолучить полное описание патента

Редакция МПК: 
Основные коды МПК: F17C009/04    
Аналоги изобретения: US 3068659 А, 18.12.1962. US 4231226 А, 04.11.1980. US 2005061395 A1, 24.03.2005. WO 2004/088815, 14.10.2004. EP 0818527 A2, 02.04.1980. SU 1451432 A1, 15.01.1989. 

Имя заявителя: Эни С.п.А (IT) 
Изобретатели: ЧИККАРЕЛЛИ Либерато Джампаоло (IT) 
Патентообладатели: Эни С.п.А (IT) 
Приоритетные данные: 14.06.2006 IT MI2006A001149 

Реферат


Способ и устройство для испарения сжиженного природного газа (СПГ) состоят в получении электрической энергии по ходу процедуры испарения посредством теплообмена с использованием средств трансформации источника энергии для получения электрической энергии. Электрическую энергию производят в ходе операции испарения посредством теплообмена, и указанный теплообмен осуществляют посредством выделяющего тепло неконденсирующегося газа в замкнутом цикле. Первую часть указанного СПГ закачивают на хранение в коллектор природного газа, который может быть истощен или частично истощен, а оставшуюся часть не направленного на хранение испаренного СПГ сжигают и расширяют в турбине. Техническим результатом является повышение энергоэффективности. 2 н. и 17 з.п. ф-лы, 2 ил.

Дирекция сайта "Промышленная Сибирь"
Россия, г.Омск, ул.Учебная, 199-Б, к.408А
Сайт открыт 01.11.2000
© 2000-2018 Промышленная Сибирь
Разработка дизайна сайта:
Дизайн-студия "RayStudio"