Промышленная Сибирь Ярмарка Сибири Промышленность СФО Электронные торги НОУ-ХАУ Электронные магазины Карта сайта
 
 

Поиск патентов

Как искать?
Реферат
Название
Публикация
Регистрационный номер
Имя заявителя
Имя изобретателя
Имя патентообладателя

    





Оформить заказ и задать интересующие Вас вопросы Вы можете напрямую c 6-00 до 14-30 по московскому времени кроме сб, вс. whatsapp 8-950-950-9888

На данной странице представлена ознакомительная часть выбранного Вами патента

Для получения более подробной информации о патенте (полное описание, формула изобретения и т.д.) Вам необходимо сделать заказ. Нажмите на «Корзину»


СПОСОБ ИЗГОТОВЛЕНИЯ ИЗОЛИРУЮЩЕЙ И ГЕРМЕТИЧНОЙ СТЕНКИ РЕЗЕРВУАРА

Номер публикации патента: 2443595

Вид документа: C2 
Страна публикации: RU 
Рег. номер заявки: 2009131002/11 
  Сделать заказПолучить полное описание патента

Редакция МПК: 
Основные коды МПК: B63B025/16   F17C003/02    
Аналоги изобретения: FR 2781556 A1, 28.01.2000. EP 0573327 A1, 08.12.1993. EP 0543686 A1, 26.05.1993. SU 1637669 A3, 23.03.1991. SU 820673 A, 07.04.1981. 

Имя заявителя: АЛЬСТОМ (FR) 
Изобретатели: ГОМАР Бруно (FR) 
Патентообладатели: АЛЬСТОМ (FR) 
Приоритетные данные: 23.01.2007 FR 0700438 

Реферат


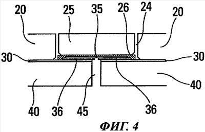
Изобретение касается изготовления изолирующей и герметичной стенки резервуара, составляющего часть несущей конструкции, например, корпуса судна. Способ изготовления стенки теплоизолированного резервуара для содержания текучей среды, например сжиженного газа, встроенного в несущую конструкцию (50) судна, характеризуется тем, что поверх полосы (35) гибкого полотна, обеспечивающей непрерывность вторичной герметизирующей мембраны (30), устанавливают заранее изготовленный брусок (25) в большей или меньшей степени прямоугольной формы. Установка указанного бруска (25) включает в себя операции, на которых на нижнюю поверхность указанного бруска (25) наносят две параллельные продольные полосы (26, 26') клея, причем указанные полосы (26, 26') клея разделены продольным центральным зазором (28) без клея. Указанный брусок (25), покрытый клеем, наклеивают на полосу (35) гибкого полотна путем прижимания указанного бруска (25) к указанной полосе (35) гибкого полотна так, что по завершении наклеивания указанный продольный центральный зазор (28) по меньшей мере частично заполнен клеем, с образованием в большей или меньшей степени непрерывного слоя клея на нижней поверхности бруска (25), причем такой в большей или меньшей степени непрерывный слой клея усиливает клеевое соединение указанной полосы (35) гибкого полотна для обеспечения герметичности вторичной герметизирующей мембраны (30). 7 з.п. ф-лы, 5 ил.

Дирекция сайта "Промышленная Сибирь"
Россия, г.Омск, ул.Учебная, 199-Б, к.408А
Сайт открыт 01.11.2000
© 2000-2018 Промышленная Сибирь
Разработка дизайна сайта:
Дизайн-студия "RayStudio"