Промышленная Сибирь Ярмарка Сибири Промышленность СФО Электронные торги НОУ-ХАУ Электронные магазины Карта сайта
 
 

Поиск патентов

Как искать?
Реферат
Название
Публикация
Регистрационный номер
Имя заявителя
Имя изобретателя
Имя патентообладателя

    





Оформить заказ и задать интересующие Вас вопросы Вы можете напрямую c 6-00 до 14-30 по московскому времени кроме сб, вс. whatsapp 8-950-950-9888

На данной странице представлена ознакомительная часть выбранного Вами патента

Для получения более подробной информации о патенте (полное описание, формула изобретения и т.д.) Вам необходимо сделать заказ. Нажмите на «Корзину»


СПОСОБ ЗАЩИТЫ ОТ СЕРОВОДОРОДНОЙ КОРРОЗИИ КРОВЛИ РЕЗЕРВУАРА СИСТЕМЫ СБОРА И ПОДГОТОВКИ ПРОДУКЦИИ СКВАЖИН

Номер публикации патента: 2414587

Вид документа: C1 
Страна публикации: RU 
Рег. номер заявки: 2010120084/03 
  Сделать заказПолучить полное описание патента

Редакция МПК: 
Основные коды МПК: E21B041/00   F17C001/10    
Аналоги изобретения: КАТЕЕВ М.В. и др. Система создания инертной парогазовой среды в резервуарах Радаевской установки подготовки нефти. - Транспорт и подготовка нефти, 1, 2009, с.74-76. SU 1826996 A3, 07.07.1993. SU 1715888 A1, 29.02.1992. SU 1819295 A3, 30.05.1993. RU 2256594 C2, 20.07.2005. RU 94014613 A1, 10.04.1996. JP 2001192870 A, 17.07.2001. 

Имя заявителя: Открытое акционерное общество "Татнефть" им. В.Д. Шашина (RU) 
Изобретатели: Ибрагимов Наиль Габдулбариевич (RU)
Шафигуллин Ринат Ильдусович (RU)
Камалов Ильдус Ханифович (RU)
Калимуллин Фарид Закиевич (RU)
Загретдинов Адип Ваганович (RU) 
Патентообладатели: Открытое акционерное общество "Татнефть" им. В.Д. Шашина (RU) 

Реферат


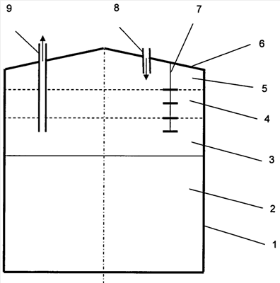
Изобретение относится к нефтяной промышленности и может найти применение при защите от сероводородной коррозии резервуаров системы сбора и подготовки продукции скважин. При осуществлении способа организуют подачу в газовое пространство резервуара расчетного количества углеводородного газа, не содержащего сероводорода и имеющего плотность менее чем плотность имеющегося газа в газовом пространстве резервуара. Газ из газового пространства резервуара на установку улавливания легких фракций отбирают из газового пространства, заполненного имеющимся газом, содержащим сероводород. Количество подаваемого углеводородного газа контролируют, регулируют и подают с расходом не более 6 м3/ч. Мониторинг за скоростью коррозии под кровлей резервуара ведут через существующие лубрикаторы с расположением образцов-свидетелей коррозии в гирлянде в контрольных зонах газового пространства резервуара через установленные промежутки по высоте резервуара. По результатам мониторинга регулируют расход подаваемого газа. Повышается надежность защиты, обеспечивается контроль над процессом. 1 ил.

Дирекция сайта "Промышленная Сибирь"
Россия, г.Омск, ул.Учебная, 199-Б, к.408А
Сайт открыт 01.11.2000
© 2000-2018 Промышленная Сибирь
Разработка дизайна сайта:
Дизайн-студия "RayStudio"