Промышленная Сибирь Ярмарка Сибири Промышленность СФО Электронные торги НОУ-ХАУ Электронные магазины Карта сайта
 
 

Поиск патентов

Как искать?
Реферат
Название
Публикация
Регистрационный номер
Имя заявителя
Имя изобретателя
Имя патентообладателя

    





Оформить заказ и задать интересующие Вас вопросы Вы можете напрямую c 6-00 до 14-30 по московскому времени кроме сб, вс. whatsapp 8-950-950-9888

На данной странице представлена ознакомительная часть выбранного Вами патента

Для получения более подробной информации о патенте (полное описание, формула изобретения и т.д.) Вам необходимо сделать заказ. Нажмите на «Корзину»


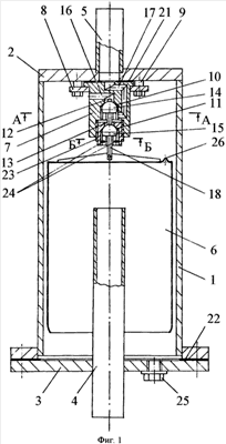
КОНДЕНСАТООТВОДЧИК

Номер публикации патента: 2472061

Вид документа: C1 
Страна публикации: RU 
Рег. номер заявки: 2011117470/06 
  Сделать заказПолучить полное описание патента

Редакция МПК: 
Основные коды МПК: F16T001/20    
Аналоги изобретения: RU 2387918 C2, 27.04.2010. RU 40435 U1, 10.09.2004. RU 2137022 C1, 10.09.1999. RU 2362944 C2, 27.07.2009. US 1839999 A, 05.01.1932. US 4168029 A, 18.09.1979. 

Имя заявителя: Печенегов Юрий Яковлевич (RU),
ГОУ ВПО Саратовский государственный технический университет (RU) 
Изобретатели: Печенегов Юрий Яковлевич (RU)
Косов Андрей Викторович (RU) 
Патентообладатели: Печенегов Юрий Яковлевич (RU)
ГОУ ВПО Саратовский государственный технический университет (RU) 

Реферат


Изобретение относится к средствам для удаления конденсата из теплообменных аппаратов, где в качестве греющего теплоносителя применяется пар, и может быть использовано в различных областях техники. Задачей изобретения является повышение эффективности и надежности работы конденсатоотводчика. Конденсатоотводчик содержит вертикальный цилиндрический корпус с крышкой, дном, впускным и выпускным патрубками, размещенный в корпусе поплавок, запорный орган, примыкающий к выпускному патрубку и включающий конусное седло, клапанное отверстие, клапан с посадочной поверхностью сферической формы, соединенный с вертикальным штоком и расположенный на выходе из клапанного отверстия, запорный орган имеет каналы для входа и выпуска конденсата и оснащен дополнительным клапаном с посадочной поверхностью сферической формы, размещенном на штоке, который соединен шарнирно с поплавком с возможностью угловых относительных смещений, а также дополнительными конусным седлом и клапанным отверстием, причем дополнительный клапан расположен со стороны входа в дополнительное клапанное отверстие, расточки для клапанов выполнены с радиальными ребрами. Изобретение позволяет повысить эффективность и надежность работы конденсатоотводчика. 4 ил.

Дирекция сайта "Промышленная Сибирь"
Россия, г.Омск, ул.Учебная, 199-Б, к.408А
Сайт открыт 01.11.2000
© 2000-2018 Промышленная Сибирь
Разработка дизайна сайта:
Дизайн-студия "RayStudio"