|
На данной странице представлена ознакомительная часть выбранного Вами патента
Для получения более подробной информации о патенте (полное описание, формула изобретения и т.д.) Вам необходимо сделать заказ. Нажмите на «Корзину»
| КОНДЕНСАТООТВОДЧИК |  |
Номер публикации патента: 2183786 |  |
| Редакция МПК: | 7 | | Основные коды МПК: | F16T001/00 | | Аналоги изобретения: | RU 15009 U1, 10.09.2000. RU 2100688 C1, 27.12.1997. SU 1386787 A1, 07.04.1988. GB 2267139 A, 24.11.1993. |
| Имя заявителя: | Торгов Леонид Михайлович | | Изобретатели: | Торгов Л.М. Торгов С.Л. Румянцева Н.В. | | Патентообладатели: | Торгов Леонид Михайлович Торгов Сергей Леонидович Румянцева Наталия Витальевна |
Реферат |  |
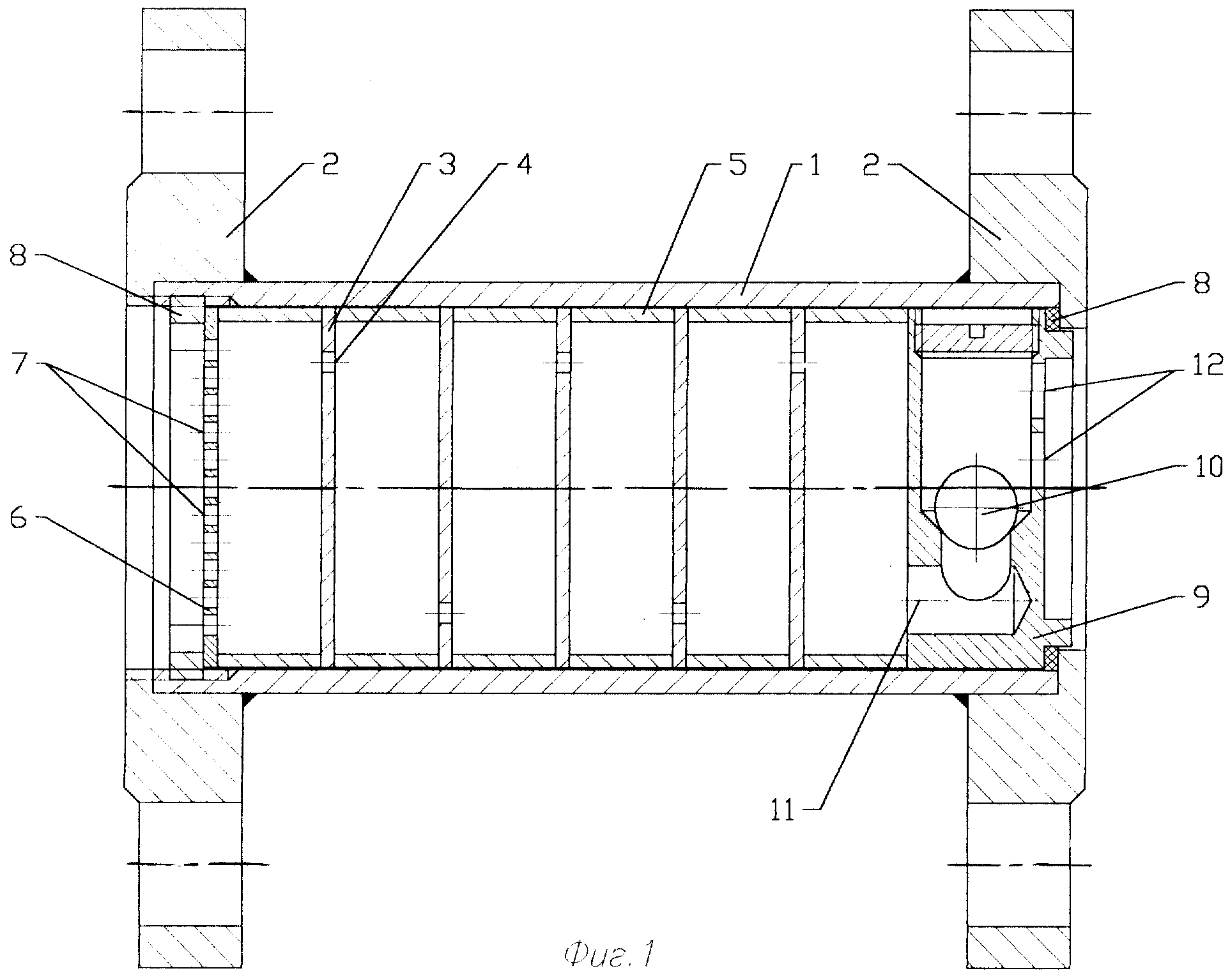
Конденсатоотводчик относится к теплоэнергетике и предназначен для отвода конденсата от теплопотребляющего оборудования. Конденсатоотводчик содержит корпус с элементами присоединения на концах, установленные по ходу конденсата и закрепленные в нем с помощью уплотняющего кольца или колец через распорные кольца шайбы с дросселирующими отверстиями на периферии, причем шайбы установлены таким образом, что отверстия в соседних шайбах расположены диаметрально противоположно и образуют лабиринтную систему типа "гидрозатвор", фильтр-сепаратор, установленный в корпусе на входе или на входе и выходе конденсатоотводчика, причем, по крайней мере, одна из шайб выполнена с обратным клапаном. Шайба, содержащая обратный клапан, представляет собой диск, в теле которого имеется полость, связанная каналами с входным(и) и выходным(и) отверстиями, выполненными с противоположных торцов диска, и имеющий рабочую поверхность, сопряженную с поверхностью запорного органа обратного клапана. Изобретение позволяет повысить надежность, эффективность и безопасность конденсатоотводчика. 1 з.п. ф-лы, 3 ил.
|