|
На данной странице представлена ознакомительная часть выбранного Вами патента
Для получения более подробной информации о патенте (полное описание, формула изобретения и т.д.) Вам необходимо сделать заказ. Нажмите на «Корзину»
| УСТРОЙСТВО ДЛЯ ПОДДЕРЖИВАНИЯ ЭЛЕКТРИЧЕСКОГО ПРИБОРА |  |
Номер публикации патента: 2183298 |  |
| Редакция МПК: | 7 | | Основные коды МПК: | F16M011/04 | | Аналоги изобретения: | ЕР 0384109 А, 29.08.1990. EP 0445331 А, 11.09.1991. US 4953821 A, 04.09.1990. US 4657217 А, 14.04.1987. GB 2083878 А, 31.03.1982. DE 4244237 C, 31.03.1994. |
| Имя заявителя: | ВОГЕЛ'С ХОЛДИНГ Б.В. (NL) | | Изобретатели: | ВАН ЛИСХАУТ Петрус Теодорус Вильхельмус Мария (NL) | | Патентообладатели: | ВОГЕЛ'С ХОЛДИНГ Б.В. (NL) | | Номер конвенционной заявки: | 1004116 | | Страна приоритета: | NL | | Патентный поверенный: | Емельянов Евгений Иванович |
Реферат |  |
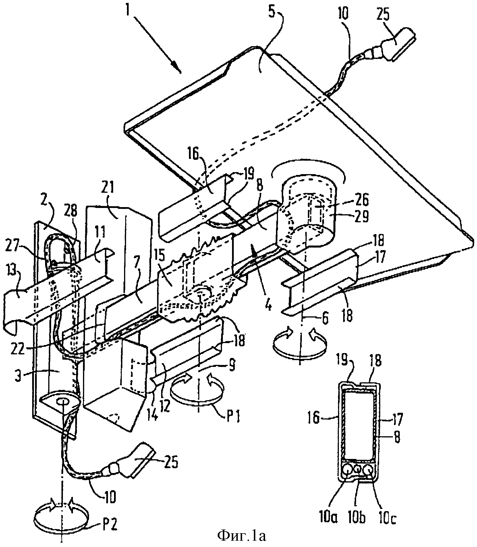
Изобретение относится к средствам для поддерживания электрических приборов, например телевизоров. Изобретение обеспечивает возможность простого и эффективного укрытия кабеля от обзора в области оси его поворота. Устройство содержит поддерживающий кронштейн, который соединен со стеной или потолком первым концом, допуская поворотное перемещение. На втором конце кронштейна имеется подставка для электрического прибора. Устройство содержит кожух, сьемно прикрепляемый к поддерживающему кронштейну, посредством чего пространство для прокладки кабеля обеспечено между поддерживающим кронштейном и кожухом. Устройство снабжено, по меньшей мере, двумя кожухами, каждый из которых имеет заплечик. Эти заплечики входят в зацепление вокруг оси поворота с разных сторон оси поворота, посредством чего пространство для прокладки кабеля обеспечено между заплечиками и осью поворота. 2 с. и 7 з.п.ф-лы, 10 ил.
|