Промышленная Сибирь Ярмарка Сибири Промышленность СФО Электронные торги НОУ-ХАУ Электронные магазины Карта сайта
 
 

Поиск патентов

Как искать?
Реферат
Название
Публикация
Регистрационный номер
Имя заявителя
Имя изобретателя
Имя патентообладателя

    





Оформить заказ и задать интересующие Вас вопросы Вы можете напрямую c 6-00 до 14-30 по московскому времени кроме сб, вс. whatsapp 8-950-950-9888

На данной странице представлена ознакомительная часть выбранного Вами патента

Для получения более подробной информации о патенте (полное описание, формула изобретения и т.д.) Вам необходимо сделать заказ. Нажмите на «Корзину»


СПОСОБ ИСПЫТАНИЯ ТРУБ НА СМЯТИЕ В КОНТЕЙНЕРЕ

Номер публикации патента: 2406013

Вид документа: C1 
Страна публикации: RU 
Рег. номер заявки: 2009132253/28 
  Сделать заказПолучить полное описание патента

Редакция МПК: 
Основные коды МПК: F16L055/10    
Аналоги изобретения: SU 346620 А1, 28.07.1972. RU 2076262 С1, 27.03.1997. RU 2241894 С2, 10.12.2004. RU 2016344 С1, 15.07.1994. 

Имя заявителя: ОТКРЫТОЕ АКЦИОНЕРНОЕ ОБЩЕСТВО "ВОЛЖСКИЙ ТРУБНЫЙ ЗАВОД" (RU) 
Изобретатели: Пермяков Игорь Львович (RU)
Лясковский Андрей Анатольевич (RU)
Вятченников Владимир Владимирович (RU)
Костяев Вячеслав Андреевич (RU)
Кабанов Андрей Алексеевич (RU) 
Патентообладатели: ОТКРЫТОЕ АКЦИОНЕРНОЕ ОБЩЕСТВО "ВОЛЖСКИЙ ТРУБНЫЙ ЗАВОД" (RU) 

Реферат


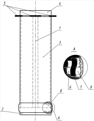
Изобретение относится к металлургии, в частности к производству испытаний. Технический результат заключается в возможности проведения испытания образца трубы, исключая возможное влияние внешних поперечных и продольных нагрузок на испытуемый образец трубы. Способ герметизации зазоров для испытания труб на смятие в контейнере заключается в том, что на оправку в сборе с нижней заглушкой устанавливается подготовленный образец трубы. Затем на оправку устанавливают верхнюю заглушку, после чего производят герметизацию зазоров между нижней заглушкой и нижним торцом трубы, а также выставленного зазора между верхним торцом трубы и верхней заглушкой, обеспечивающую технологическое уплотнение образца трубы, которое состоит из стальной ленты, наматываемой в несколько слоев и намотанной поверх нее полиуретановой ленты. 1 ил.

Дирекция сайта "Промышленная Сибирь"
Россия, г.Омск, ул.Учебная, 199-Б, к.408А
Сайт открыт 01.11.2000
© 2000-2018 Промышленная Сибирь
Разработка дизайна сайта:
Дизайн-студия "RayStudio"