Промышленная Сибирь Ярмарка Сибири Промышленность СФО Электронные торги НОУ-ХАУ Электронные магазины Карта сайта
 
 

Поиск патентов

Как искать?
Реферат
Название
Публикация
Регистрационный номер
Имя заявителя
Имя изобретателя
Имя патентообладателя

    





Оформить заказ и задать интересующие Вас вопросы Вы можете напрямую c 6-00 до 14-30 по московскому времени кроме сб, вс. whatsapp 8-950-950-9888

На данной странице представлена ознакомительная часть выбранного Вами патента

Для получения более подробной информации о патенте (полное описание, формула изобретения и т.д.) Вам необходимо сделать заказ. Нажмите на «Корзину»


КОМПЕНСАТОР (ВАРИАНТЫ)

Номер публикации патента: 2372546

Вид документа: C2 
Страна публикации: RU 
Рег. номер заявки: 2007124871/06 
  Сделать заказПолучить полное описание патента

Редакция МПК: 
Основные коды МПК: F16L051/02    
Аналоги изобретения: SU 302555 А, 28.04.1971. SU 580399 А, 15.11.1977. RU 2227859 C2, 27.04.2004. RU 2224168 С1, 20.02.2004. DE 1298793 А, 11.02.1967. 

Имя заявителя: Открытое акционерное общество "Ракетно-космическая корпорация "Энергия" имени С.П. Королева" (RU) 
Изобретатели: Ерпылев Владимир Владимирович (RU)
Рожков Михаил Викторович (RU) 
Патентообладатели: Открытое акционерное общество "Ракетно-космическая корпорация "Энергия" имени С.П. Королева" (RU) 

Реферат


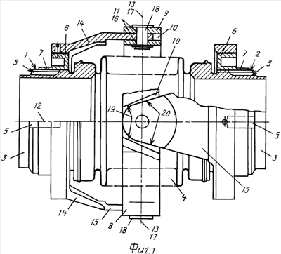
Изобретение относится к поворотно-осевым компенсаторам для трубопроводов пневмогидравлических систем в ракетно-космической технике. Компенсатор (варианты) состоит из сильфона, концевых фланцев, шарнирного узла (шарнир Гука), втулок с тонкостенными хвостовиками. На наружных поверхностях концевых фланцев выполнены соответственно правая и левая резьбы с продольными пазами. На резьбы навинчены втулки с тонкостенными хвостовиками, контрящимися обжатием в продольные пазы концевых фланцев. На втулки неподвижно установлен шарнирный узел. Шарнирный узел по первому варианту состоит из кольца с четырьмя пазами и двух щек. Каждая щека имеет две проушины. Проушины щек размещены в пазах кольца и соединены с кольцом с помощью осей шарнирного узла. Пазы кольца и проушины щек имеют опорные поверхности, ограничивающие поворот концевых фланцев друг относительно друга. Шарнирный узел по второму варианту состоит из двух щек, каждая из которых имеет две проушины с отверстиями. Проушины одной из щек размещены в пазах проушин другой щеки и соединены попарно с помощью осей шарнирного узла. Пазы проушин одной из щек имеют опорные поверхности, ограничивающие поворот концевых фланцев друг относительно друга. Технический результат: повышение надежности конструкции, расширение эксплуатационных возможностей. 2 н.п. ф-лы, 3 ил.

Дирекция сайта "Промышленная Сибирь"
Россия, г.Омск, ул.Учебная, 199-Б, к.408А
Сайт открыт 01.11.2000
© 2000-2018 Промышленная Сибирь
Разработка дизайна сайта:
Дизайн-студия "RayStudio"