|
На данной странице представлена ознакомительная часть выбранного Вами патента
Для получения более подробной информации о патенте (полное описание, формула изобретения и т.д.) Вам необходимо сделать заказ. Нажмите на «Корзину»
| ВВОД КАБЕЛЬНЫЙ |  |
Номер публикации патента: 2175418 |  |
| Редакция МПК: | 7 | | Основные коды МПК: | F16L019/03 | | Аналоги изобретения: | SU 1634931 A, 15.03.1991. SU 1164492 A, 30.06.1985. SU 1188438 A, 30.10.1985. RU 2016340 C1, 15.07.1994. RU 2119607 С1, 27.09.1998. |
| Имя заявителя: | Халаев Григорий Григорьевич | | Изобретатели: | Халаев Г.Г. Ольшевский Л.Б. Солодовников А.В. Козловский В.И. | | Патентообладатели: | Халаев Григорий Григорьевич |
Реферат |  |
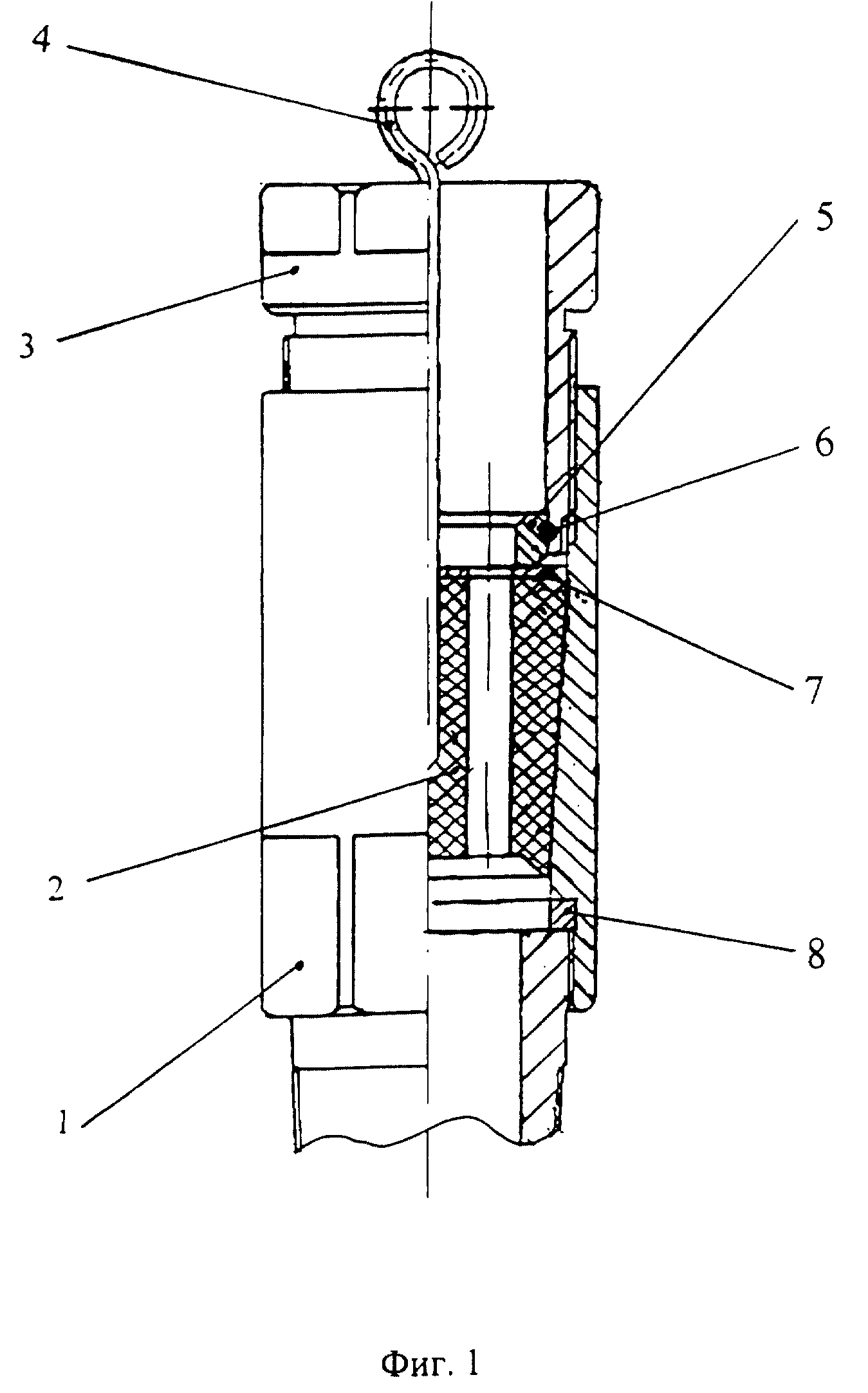
Ввод кабельный предназначен для использования в нефтегазодобывающей промышленности. Ввод содержит корпус, гайку, соединительный патрубок, уплотнительные кольца и уплотнительную втулку. Внутренняя поверхность корпуса выполнена конусной с входным и выходным резьбовыми участками на концах, первый выполнен с возможностью резьбового соединения с гайкой, а второй - с возможностью резьбового соединения с патрубком и снабжен плечиками под уплотнительные кольца; уплотнительная втулка выполнена из полиуретана и имеет наружную конусную поверхность под гнездо в корпусе и осевое отверстие под кабель, причем стенки втулки прорезаны вдоль оси, а линия разреза выполнена по синусоиде с возможностью увеличения площади контакта в стыке. В теле втулки вдоль оси выполнены дополнительные отверстия под отдельные жилы кабеля, внутренние стенки отверстий и наружные стенки втулки прорезаны вдоль оси по синусоиде с возможностью разделения втулки на две части, причем в одной части втулки закреплен штырь с отгибом на заделанном конце и петлей на свободном конце. Изобретение обеспечивает экологическую безопасность, упрощение техники обслуживания, повышение надежности. 1 з.п.ф-лы, 4 ил.
|