|
На данной странице представлена ознакомительная часть выбранного Вами патента
Для получения более подробной информации о патенте (полное описание, формула изобретения и т.д.) Вам необходимо сделать заказ. Нажмите на «Корзину»
| ТРУБЧАТОЕ ИЗДЕЛИЕ, УСТРОЙСТВО И СПОСОБ ЭКСТРУДИРОВАНИЯ |  |
Номер публикации патента: 2178354 |  |
| Редакция МПК: | 7 | | Основные коды МПК: | B29C047/02 B29C047/26 F16L009/14 | | Аналоги изобретения: | ЕР 0353977 А2, 07.02.1990. US 4640313 А, 03.02.1987. US 3425455 А, 30.08.1965. DE 4225011 А1, 03.02.1994. DE 3530187 А1, 05.03.1987. US 3420277 А, 28.10.1965. ЕР 0252388 А1, 18.01.1988. SU 1109046 А, 15.08.1984. |
| Имя заявителя: | ЮПОНОР ИННОВЕЙШН А.Б. (SE) | | Изобретатели: | КИРЬЯВАЙНЕН Кари (FI) ЯРВЕНКЮЛЯ Юри (FI) | | Патентообладатели: | ЮПОНОР ИННОВЕЙШН А.Б. (SE) | | Номер конвенционной заявки: | 953162 | | Страна приоритета: | FI | | Патентный поверенный: | Кузнецов Юрий Дмитриевич |
Реферат |  |
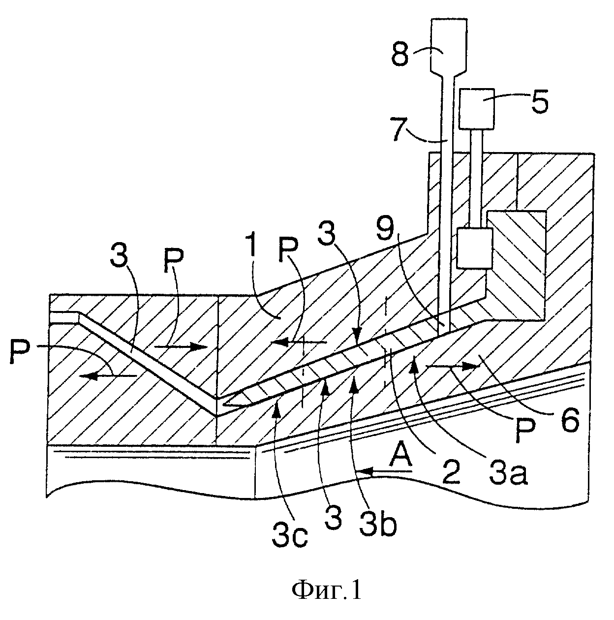
Изобретение относится к трубчатому изделию, способу экструдирования многослойного изделия и устройству для его осуществления. Трубчатое изделие содержит, по меньшей мере, три слоя: базовый слой, внутренний слой и связующий слой. Внутренний слой выполнен из пластмассы. Связующий слой расположен между базовым и внутренним слоями, причем использованы базовый и внутренний слои, плохо склеивающиеся друг с другом. Связующий и внутренний слои получены одновременным экструдированием их на базовый слой. Связующий слой состоит из вспененного термопластичного материала, по меньшей мере, в одном промежуточном слое. В способе экструдирования внутренний и связующий слои одновременно экструдируют внутри трубчатого базового слоя и прижимают к нему. Прижатие внутреннего пластмассового слоя и связующего слоя к трубчатому базовому слою осуществляют расширяющимся конусом. Устройство для экструдирования содержит средство для экструдирования многослойного изделия и расширяющийся конус. Устройство расположено внутри трубчатого базового слоя. Изобретение позволяет сбалансировать давление, действующее на элементы устройства, повысить срок службы устройства. 3 с. и 11 з. п. ф-лы, 10 ил.
|