Промышленная Сибирь Ярмарка Сибири Промышленность СФО Электронные торги НОУ-ХАУ Электронные магазины Карта сайта
 
 

Поиск патентов

Как искать?
Реферат
Название
Публикация
Регистрационный номер
Имя заявителя
Имя изобретателя
Имя патентообладателя

    





Оформить заказ и задать интересующие Вас вопросы Вы можете напрямую c 6-00 до 14-30 по московскому времени кроме сб, вс. whatsapp 8-950-950-9888

На данной странице представлена ознакомительная часть выбранного Вами патента

Для получения более подробной информации о патенте (полное описание, формула изобретения и т.д.) Вам необходимо сделать заказ. Нажмите на «Корзину»


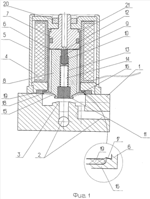
ЭЛЕКТРОМАГНИТНЫЙ КЛАПАН

Номер публикации патента: 2450192

Вид документа: C1 
Страна публикации: RU 
Рег. номер заявки: 2011109716/06 
  Сделать заказПолучить полное описание патента

Редакция МПК: 
Основные коды МПК: F16K031/06    
Аналоги изобретения: DE 3520488 A1, 07.06.1985. RU 2241167 C1, 27.11.2004. SU 1710911 A1, 07.02.1992. RU 2138721 C1, 27.09.1999. SU 1196593 A1, 07.12.1985. SU 1067282 A1, 15.01.1984. EP 0151563 A2, 14.08.1985. EP 1077340 A2, 21.02.2001. 

Имя заявителя: ЗАО НАУЧНО-ПРОЕКТНЫЙ ЦЕНТР "ТОРМОЗ" (ЗАО НПЦ "ТОРМОЗ") (RU) 
Изобретатели: Муртазин Владислав Николаевич (RU)
Муртазин Антон Владиславович (RU)
Трошков Валерий Викторович (RU)
Жерновой Виктор Григорьевич (RU) 
Патентообладатели: ЗАО НАУЧНО-ПРОЕКТНЫЙ ЦЕНТР "ТОРМОЗ" (ЗАО НПЦ "ТОРМОЗ") (RU) 

Реферат


Изобретение относится к арматуростроению и предназначено для использования в системах управления жидкостно-газовыми потоками. Электромагнитный клапан содержит корпус с входным и выходным каналами, седло, катушку, кожух, разделительную трубку из немагнитного материала. Трубка герметично надета на конец стопа. С противоположных сторон якоря выполнены запорные элементы. Один запорный элемент перекрывает седло входного канала стопа, второй взаимодействует с седлом корпуса при закрытом положении якоря. Верхний подпружиненный элемент якоря завулканизирован в немагнитную подвижную втулку, нижний - непосредственно в отверстие проточки якоря. Разделительная трубка с нижней стороны имеет кольцо с выступами. Кольцо при затягивании гайки на стопе герметично поджимает плоскую часть Г-образного уплотнительного элемента. Последний расположен в проточке нижней части кожуха. В часть указанной проточки кожуха при подтягивании гайки на стопе упирается кольцевой ограничительный выступ меньшего диаметра. Второй выступ на большем диаметре кольца входит в проточку корпуса с седлом и каналами наружной поверхностью. При этом поверхность внутреннего диаметра выступа большего диаметра служит упором для конусной или плоской возвратной пружины. Изобретение направлено на повышение герметичности и уменьшение износа клапана. 1 з.п.ф-лы, 1 ил.

Дирекция сайта "Промышленная Сибирь"
Россия, г.Омск, ул.Учебная, 199-Б, к.408А
Сайт открыт 01.11.2000
© 2000-2018 Промышленная Сибирь
Разработка дизайна сайта:
Дизайн-студия "RayStudio"