Промышленная Сибирь Ярмарка Сибири Промышленность СФО Электронные торги НОУ-ХАУ Электронные магазины Карта сайта
 
 

Поиск патентов

Как искать?
Реферат
Название
Публикация
Регистрационный номер
Имя заявителя
Имя изобретателя
Имя патентообладателя

    





Оформить заказ и задать интересующие Вас вопросы Вы можете напрямую c 6-00 до 14-30 по московскому времени кроме сб, вс. whatsapp 8-950-950-9888

На данной странице представлена ознакомительная часть выбранного Вами патента

Для получения более подробной информации о патенте (полное описание, формула изобретения и т.д.) Вам необходимо сделать заказ. Нажмите на «Корзину»


КЛАПАН ДЛЯ СОЗДАНИЯ ГАЗОВОГО ИМПУЛЬСА

Номер публикации патента: 2368832

Вид документа: C2 
Страна публикации: RU 
Рег. номер заявки: 2007108943/06 
  Сделать заказПолучить полное описание патента

Редакция МПК: 
Основные коды МПК: F16K031/40    
Аналоги изобретения: EP 1186784 A1, 13.03.2002. SU 141044 A1, 01.01.1961. RU 2222743 C2, 27.01.2004. WO 2004070245 A1, 19.08.2004. 

Имя заявителя: Аско Контролз Б.В. (NL) 
Изобретатели: ООМЕН Тьерк (NL) 
Патентообладатели: Аско Контролз Б.В. (NL) 
Приоритетные данные: 17.02.2005 NL 1028317 

Реферат


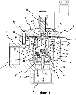
Изобретение относится к области арматуростроения и предназначено для создания газового импульса. Клапан для создания газового импульса содержит корпус (1, 2), подвижный клапанный элемент (5), седло (6) клапана, камеру (25) управления, выходной канал (26). В корпусе выполнены впускное отверстие (3) и выпускное отверстие (4). Для закрытия клапана подвижный клапанный элемент плотно прилегает к седлу (6) клапана. Камера (25) управления размещена со стороны подвижного клапанного элемента (5), удаленной от седла (6). Камера (25) управления содержит ходовой объем клапана. Камера (25) управления соединена через дроссельный канал (10) с впускным отверстием (3). Выходной канал (26) проходит в фиксированном положении между камерой (25) управления и выпускным отверстием (4). Управляющий клапан (28) с помощью привода закрывает и открывает выходной канал (26). Выходной канал (26) проходит за седло (6) в выпускное отверстие (4). В выходном канале (26) или вблизи него расположен невозвратный клапан (31). Последний закрывает выходной канал (26) и предотвращает протекание газа из выпускного отверстия (4) в камеру (25) управления при открытом положении клапанного элемента. Изобретение направлено на повышение надежности клапана за счет предотвращения колебательных перемещений клапанного элемента. 8 з.п. ф-лы, 4 ил.

Дирекция сайта "Промышленная Сибирь"
Россия, г.Омск, ул.Учебная, 199-Б, к.408А
Сайт открыт 01.11.2000
© 2000-2018 Промышленная Сибирь
Разработка дизайна сайта:
Дизайн-студия "RayStudio"