Промышленная Сибирь Ярмарка Сибири Промышленность СФО Электронные торги НОУ-ХАУ Электронные магазины Карта сайта
 
 

Поиск патентов

Как искать?
Реферат
Название
Публикация
Регистрационный номер
Имя заявителя
Имя изобретателя
Имя патентообладателя

    





Оформить заказ и задать интересующие Вас вопросы Вы можете напрямую c 6-00 до 14-30 по московскому времени кроме сб, вс. whatsapp 8-950-950-9888

На данной странице представлена ознакомительная часть выбранного Вами патента

Для получения более подробной информации о патенте (полное описание, формула изобретения и т.д.) Вам необходимо сделать заказ. Нажмите на «Корзину»


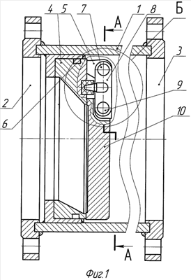
ОБРАТНЫЙ ЗАТВОР

Номер публикации патента: 2416050

Вид документа: C2 
Страна публикации: RU 
Рег. номер заявки: 2008146743/06 
  Сделать заказПолучить полное описание патента

Редакция МПК: 
Основные коды МПК: F16K015/03    
Аналоги изобретения: RU 2237211 С2, 27.09.2004. RU 2295085 С2, 10.03.2007. RU 78281 U1, 20.11.2008. GB 2166519 A, 08.05.1986. GB 2079406 A, 20.01.1982. US 4872477 A, 10.10.1989. US 2454072 A, 16.11.1948. 

Имя заявителя: Общество с ограниченной ответственностью "Армтехстрой" (RU) 
Изобретатели: Шанаурин Анатолий Леонтьевич (RU)
Матвеев Александр Васильевич (RU)
Уфимцев Владимир Анатольевич (RU)
Гурьянов Андрей Васильевич (RU) 
Патентообладатели: Общество с ограниченной ответственностью "Армтехстрой" (RU) 

Реферат


Изобретение относится к арматуростроению и предназначено для перекрытия обратного потока среды в трубопроводах. Обратный затвор содержит корпус с входными и выходными каналами, размещенное во входном канале седло с тарелкой, расположенной вне проекции последней, и опорой, и упор тарелки. Упор расположен на седле вне проекции тарелки и выполнен с внутренней конической полостью. Сопрягаемый с ней палец установлен с возможностью качания на серьге. Серьга шарнирно соединена и с опорой, и с тарелкой. Изобретение направлено на повышение надежности работы затвора посредством создания демпфирующего устройства, предотвращающего соударение уплотнительных полей тарелки и седла при обратном потоке проводимой среды. 3 з.п. ф-лы, 5 ил.

Дирекция сайта "Промышленная Сибирь"
Россия, г.Омск, ул.Учебная, 199-Б, к.408А
Сайт открыт 01.11.2000
© 2000-2018 Промышленная Сибирь
Разработка дизайна сайта:
Дизайн-студия "RayStudio"