|
На данной странице представлена ознакомительная часть выбранного Вами патента
Для получения более подробной информации о патенте (полное описание, формула изобретения и т.д.) Вам необходимо сделать заказ. Нажмите на «Корзину»
| ВЕНТИЛЬНАЯ ГОЛОВКА САНТЕХНИЧЕСКОЙ АРМАТУРЫ |  |
Номер публикации патента: 2162181 |  |
| Редакция МПК: | 7 | | Основные коды МПК: | F16K003/08 | | Аналоги изобретения: | RU 2027933 C1, 27.01.1995. RU 2142083 C1, 27.11.1999. GB 2209818 A, 24.05.1989. US 4944330 A, 31.07.1990. FR 2645236 A3, 05.10.1990. EP 0441336 A1, 14.08.1991. РCT WO 95/28585 A1, 26.10.1995. |
| Имя заявителя: | Лесин Виталий Борисович | | Изобретатели: | Лесин В.Б. Арсланов Г.С.-А. | | Патентообладатели: | Лесин Виталий Борисович Арсланов Геннадий Саид-Ахметович |
Реферат |  |
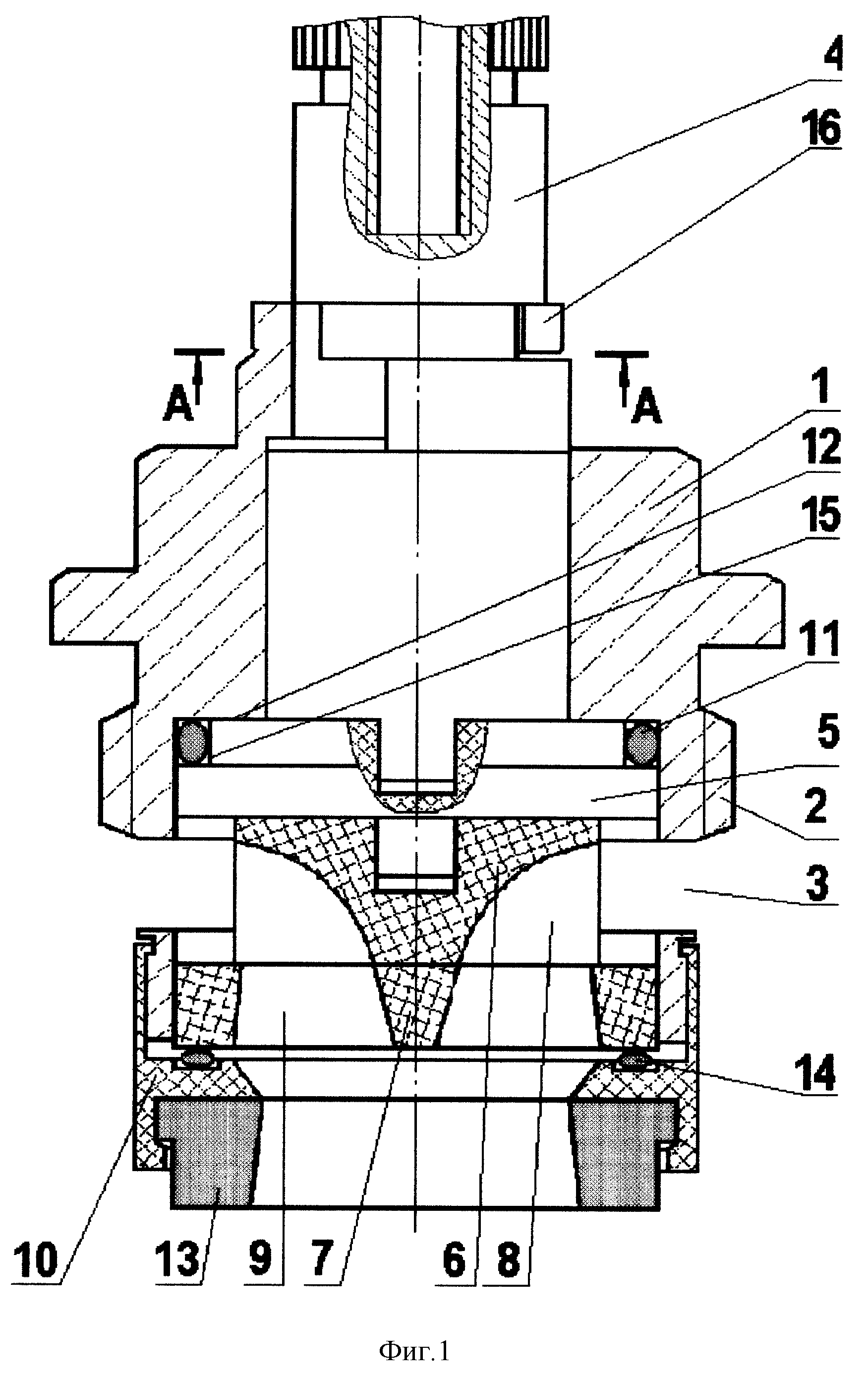
Изобретение относится к сантехническому оборудованию и предназначено для использования в сетях водоснабжения при возникновении необходимости перекрытия потоков жидкой рабочей среды. Вентильная головка включает полый цилиндрический корпус с наружной резьбой для закрепления в посадочном месте арматуры и выполненным в стенке корпуса, по меньшей мере, одним окном для прохода рабочей среды, установленный в полости корпуса приводной поворотный шток. На нижнем конце штока установлено водило. Вентильная головка содержит два плотно прилегающих друг к другу керамических диска с проходными каналами. Один из дисков смонтирован с возможностью взаимодействия с водилом. Другой диск закреплен неподвижно. В верхней части корпуса расположен стопорный элемент для фиксации осевого перемещения штока. Между водилом и стенкой корпуса установлен уплотнительный элемент. В полости корпуса выполнен кольцевой уступ. Водило размещено с упором на кольцевой уступ. Изобретение обеспечивает высокие эксплуатационные и потребительские свойства вентильной головки. 3 з.п. ф-лы, 2 ил.
|