Промышленная Сибирь Ярмарка Сибири Промышленность СФО Электронные торги НОУ-ХАУ Электронные магазины Карта сайта
 
 

Поиск патентов

Как искать?
Реферат
Название
Публикация
Регистрационный номер
Имя заявителя
Имя изобретателя
Имя патентообладателя

    





Оформить заказ и задать интересующие Вас вопросы Вы можете напрямую c 6-00 до 14-30 по московскому времени кроме сб, вс. whatsapp 8-950-950-9888

На данной странице представлена ознакомительная часть выбранного Вами патента

Для получения более подробной информации о патенте (полное описание, формула изобретения и т.д.) Вам необходимо сделать заказ. Нажмите на «Корзину»


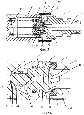
ПРЕДОХРАНИТЕЛЬНЫЙ КЛАПАН

Номер публикации патента: 2415324

Вид документа: C1 
Страна публикации: RU 
Рег. номер заявки: 2009132899/06 
  Сделать заказПолучить полное описание патента

Редакция МПК: 
Основные коды МПК: F16K017/04   F16K025/00    
Аналоги изобретения: DE 202006009403 U1, 21.09.2006. RU 2060426 C1, 20.05.1996. SU 476397 A1, 05.07.1975. US 3987814 A, 26.10.1976. DE 1055911 B, 23.04.1959. DE 757563 C, 26.05.1953. US 4790347 A, 13.12.1988. DE 10260662 A1, 01.07.2004. WO 03042587 A1, 22.05.2003. 

Имя заявителя: МАРКО ЗЮСТЕМАНАЛЮЗЕ УНД ЭНТВИКЛУНГ ГМБХ (DE) 
Изобретатели: РОЙТЕР Мартин (DE) 
Патентообладатели: МАРКО ЗЮСТЕМАНАЛЮЗЕ УНД ЭНТВИКЛУНГ ГМБХ (DE) 
Приоритетные данные: 02.09.2008 DE 102008045419.2 

Реферат


Изобретение относится к арматуростроению, в частности к предохранительным клапанам, и предназначено для ограничения давления в устройствах для подземных разработок. Через корпус (10, 12) клапана, по меньшей мере, на протяжении части его длины проходить поток. В корпусе клапана расположена направляющая (16) поршня. В последнюю вставлен нагруженный пружиной (18) поршень (20) клапана и герметично запирает ее. Поршень (20) клапана имеет на торцевой стороне вогнутую поверхность (29) набегания потока. Эта поверхность, в частности, имеет на стороне набегания потока осевую касательную и на стороне стекания потока содержит радиальную касательную. Направляющая (16) поршня снабжена вогнутой стабилизирующей поверхностью (34). Последняя имеет радиальную касательную на стороне набегания потока и осевую касательную на стороне стекания потока. Поверхность (34) при открывающемся клапане с помощью отклоненной поверхности (29) набегания потока в радиальном направлении текучую среду снова отклоняет в осевом направлении и так направляет ее на предусмотренную на поршне клапана радиально ориентированную отражающую поверхность (26), что поршень (20) клапана нагружается динамическим давлением текучей среды в осевом направлении. Изобретение направлено на повышение эффективности срабатывания предохранительного клапана. 7 з.п. ф-лы, 6 ил.

Дирекция сайта "Промышленная Сибирь"
Россия, г.Омск, ул.Учебная, 199-Б, к.408А
Сайт открыт 01.11.2000
© 2000-2018 Промышленная Сибирь
Разработка дизайна сайта:
Дизайн-студия "RayStudio"