Промышленная Сибирь Ярмарка Сибири Промышленность СФО Электронные торги НОУ-ХАУ Электронные магазины Карта сайта
 
 

Поиск патентов

Как искать?
Реферат
Название
Публикация
Регистрационный номер
Имя заявителя
Имя изобретателя
Имя патентообладателя

    





Оформить заказ и задать интересующие Вас вопросы Вы можете напрямую c 6-00 до 14-30 по московскому времени кроме сб, вс. whatsapp 8-950-950-9888

На данной странице представлена ознакомительная часть выбранного Вами патента

Для получения более подробной информации о патенте (полное описание, формула изобретения и т.д.) Вам необходимо сделать заказ. Нажмите на «Корзину»


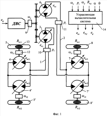
УСТРОЙСТВО АВТОМАТИЧЕСКОГО АДАПТИВНОГО УПРАВЛЕНИЯ БЕССТУПЕНЧАТОЙ ГИДРООБЪЕМНОЙ ТРАНСМИССИЕЙ МНОГОПРИВОДНОГО КОЛЕСНОГО ТРАНСПОРТНОГО СРЕДСТВА

Номер публикации патента: 2398149

Вид документа: C1 
Страна публикации: RU 
Рег. номер заявки: 2009120653/11 
  Сделать заказПолучить полное описание патента

Редакция МПК: 
Основные коды МПК: F16H061/42   B60W010/00   B60W020/00    
Аналоги изобретения: RU 35291 U1, 10.01.2004. RU 2187436 C2, 20.08.2002. JP 2006166572 A, 22.06.2006. JP 7322417 A, 08.12.1995. 

Имя заявителя: Государственное образовательное учреждение высшего профессионального образования Московский государственный технический университет МГТУ "МАМИ" (RU),
Бахмутов Сергей Васильевич (RU),
Лепешкин Александр Владимирович (RU),
Шухман Сергей Борисович (RU),
Курмаев Ринат Ханяфиевич (RU) 
Изобретатели: Бахмутов Сергей Васильевич (RU)
Лепешкин Александр Владимирович (RU)
Шухман Сергей Борисович (RU)
Курмаев Ринат Ханяфиевич (RU) 
Патентообладатели: Государственное образовательное учреждение высшего профессионального образования Московский государственный технический университет МГТУ "МАМИ" (RU)
Бахмутов Сергей Васильевич (RU)
Лепешкин Александр Владимирович (RU)
Шухман Сергей Борисович (RU)
Курмаев Ринат Ханяфиевич (RU) 

Реферат


Изобретение относится к области транспортного машиностроения и предназначено для автоматического адаптивного управления бесступенчатыми приводами трансмиссий многоприводных транспортных средств. Устройство содержит не менее двух гидроприводов ведущих колес с независимым управлением, систему измерения параметров, управляющую вычислительную систему, содержащую вычислитель рассогласований сигналов, полученных от системы измерения, и базовых сигналов, и функциональный блок формирования сигналов управления. Система измерения выполнена с возможностью определения параметра, характеризующего нормальные усилия в пятне контакта ведущих колес с опорной поверхностью. Вычислитель рассогласований выполнен с возможностью усреднения сигналов по каждому из измеренных параметров за установленный операционный промежуток времени, получения для каждой ведущей оси средних значений усредненных сигналов, получения для трансмиссии в целом средних значений усредненных сигналов, вычисления рассогласований сигналов. Функциональный блок формирования сигналов управления выполнен реализующим функции коррекции сигналов управления по предварительно вычисленным приращениям для каждого сигнала управления. Технический результат заключается в повышении точности и оперативности работы устройства. 5 з.п. ф-лы, 3 ил.

Дирекция сайта "Промышленная Сибирь"
Россия, г.Омск, ул.Учебная, 199-Б, к.408А
Сайт открыт 01.11.2000
© 2000-2018 Промышленная Сибирь
Разработка дизайна сайта:
Дизайн-студия "RayStudio"