|
На данной странице представлена ознакомительная часть выбранного Вами патента
Для получения более подробной информации о патенте (полное описание, формула изобретения и т.д.) Вам необходимо сделать заказ. Нажмите на «Корзину»
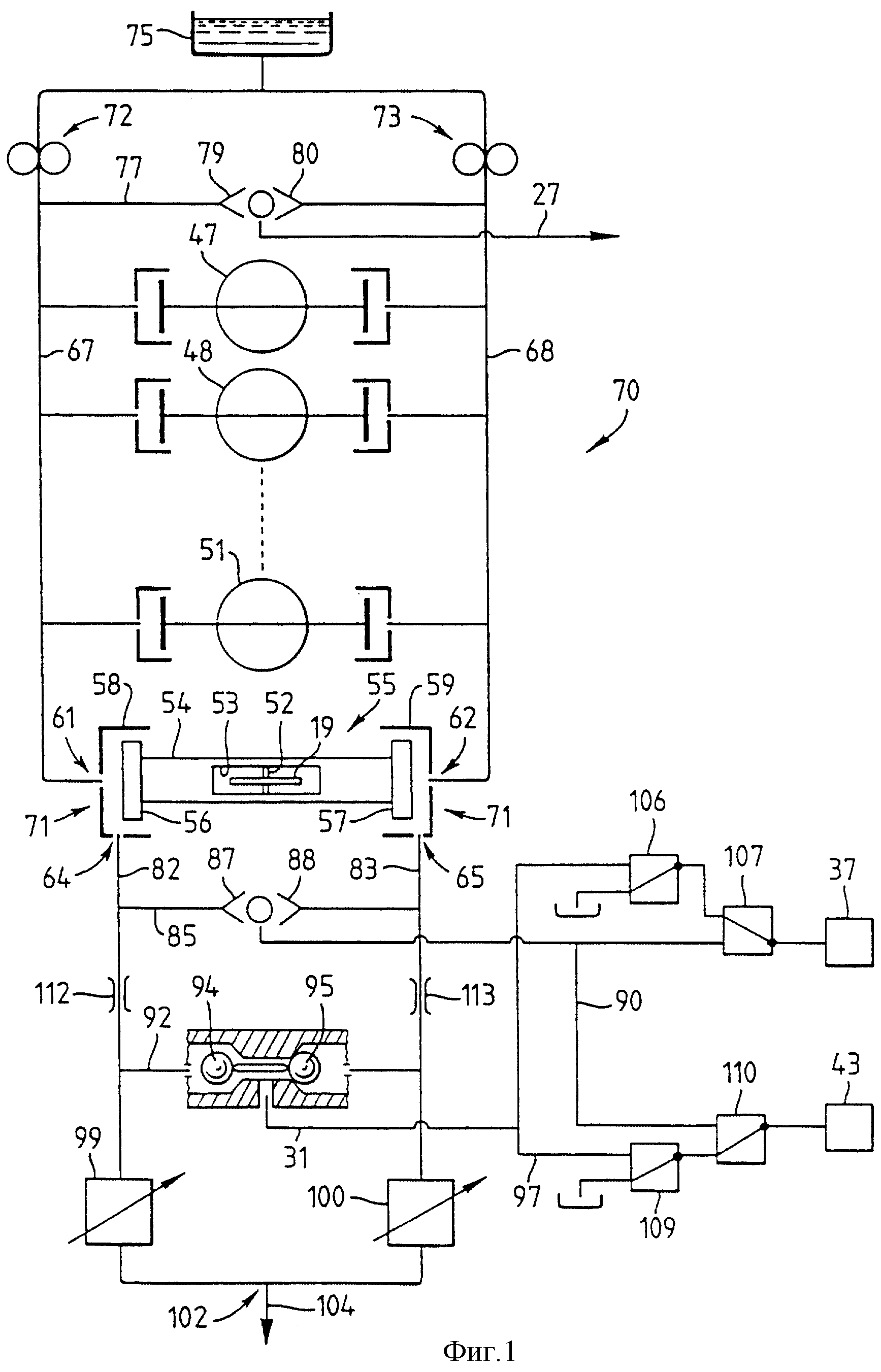
| СИСТЕМА УПРАВЛЕНИЯ БЕССТУПЕНЧАТО - РЕГУЛИРУЕМОЙ КОРОБКИ ПЕРЕДАЧ |  |
Номер публикации патента: 2178109 |  |
| Редакция МПК: | 7 | | Основные коды МПК: | F16H037/08 F16H047/04 F16H061/06 | | Аналоги изобретения: | SU 1606785A, 15.11.1990. WO 97/40292A, 30.10.1997. WO 90/02277A, 08.03.1990. US 3406597A, 22.10.1968. |
| Имя заявителя: | ТОРОТРАК (ДИВЕЛОПМЕНТ) ЛИМИТЕД (GB) | | Изобретатели: | ГРИНВУД Кристофер Джон (GB) | | Патентообладатели: | ТОРОТРАК (ДИВЕЛОПМЕНТ) ЛИМИТЕД (GB) | | Номер конвенционной заявки: | 9608147.6 | | Страна приоритета: | GB | | Патентный поверенный: | Емельянов Евгений Иванович |
Реферат |  |
Предлагается система управления для многорежимной бесступенчато-регулируемой коробки передач, содержащая муфты изменения режима, которые управляются независимо от вариатора. Технический результат - обеспечение плавного изменения режима работы. 4 с. и 12 з. п. ф-лы, 4 ил.
|