Промышленная Сибирь Ярмарка Сибири Промышленность СФО Электронные торги НОУ-ХАУ Электронные магазины Карта сайта
 
 

Поиск патентов

Как искать?
Реферат
Название
Публикация
Регистрационный номер
Имя заявителя
Имя изобретателя
Имя патентообладателя

    





Оформить заказ и задать интересующие Вас вопросы Вы можете напрямую c 6-00 до 14-30 по московскому времени кроме сб, вс. whatsapp 8-950-950-9888

На данной странице представлена ознакомительная часть выбранного Вами патента

Для получения более подробной информации о патенте (полное описание, формула изобретения и т.д.) Вам необходимо сделать заказ. Нажмите на «Корзину»


СИСТЕМА ПЕРЕДАЧИ ДЛЯ ВЫРАБОТКИ ЭНЕРГИИ

Номер публикации патента: 2469228

Вид документа: C2 
Страна публикации: RU 
Рег. номер заявки: 2010117385/11 
  Сделать заказПолучить полное описание патента

Редакция МПК: 
Основные коды МПК: F16H001/48   F16H057/08   F03D011/04   F03B013/14    
Аналоги изобретения: DE 2937845 A1, 29.05.1980. DD 249316 A1, 02.09.1987. SU 386185 A, 24.09.1973. 

Имя заявителя: ОРБИТАЛ 2 ЛИМИТЕД (GB) 
Изобретатели: ХИКС Рэймонд Джон (GB)
КАНЛИФФ Фрэнк (GB) 
Патентообладатели: ОРБИТАЛ 2 ЛИМИТЕД (GB) 
Приоритетные данные: 01.10.2007 GB 0719119.0 

Реферат


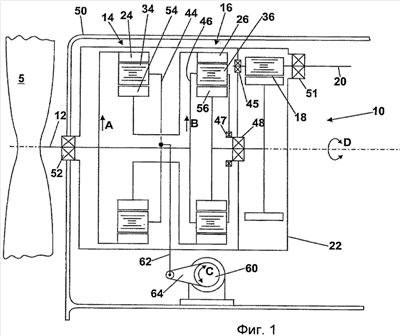
Изобретение предназначено для использования при выработке энергии на турбине с приводом от текучей среды, такой как ветряная турбина. Передача (10) опирается на корпус турбины (5) и включает в себя вход (12), выход (20) и зубчатый механизм (14, 16) между входом и выходом, предназначенный для увеличения скорости вращения на выходе по сравнению со входом. Зубчатый механизм включает в себя множество зубчатых колес для передачи крутящего момента от входа к выходу. Передача включает также в себя статичное водило (44) ступени планетарной передачи (14), которое упруго соединяется с корпусом (50) турбины для получения реактивного крутящего момента единого упругого зубчатого механизма. Передача включает также в себя упругую опору, которая включает в себя протяженный торсионный элемент (60), предназначенный для упругого скручивания вокруг торсионной оси (С). Изобретение направлено на улучшение конструкции передачи турбины. 10 з.п. ф-лы, 12 ил.

Дирекция сайта "Промышленная Сибирь"
Россия, г.Омск, ул.Учебная, 199-Б, к.408А
Сайт открыт 01.11.2000
© 2000-2018 Промышленная Сибирь
Разработка дизайна сайта:
Дизайн-студия "RayStudio"