|
На данной странице представлена ознакомительная часть выбранного Вами патента
Для получения более подробной информации о патенте (полное описание, формула изобретения и т.д.) Вам необходимо сделать заказ. Нажмите на «Корзину»
| ЗУБЧАТАЯ ПЕРЕДАЧА |  |
Номер публикации патента: 2183774 |  |
| Редакция МПК: | 7 | | Основные коды МПК: | F16H057/04 F16H055/16 | | Аналоги изобретения: | RU 2010145, 30.03.1994. RU 9279, 16.02.1999. GB 1209792, 18.01.1968. US 3822607, 09.07.1974. |
| Имя заявителя: | Омский государственный университет путей сообщения | | Изобретатели: | Бородин А.В. | | Патентообладатели: | Омский государственный университет путей сообщения |
Реферат |  |
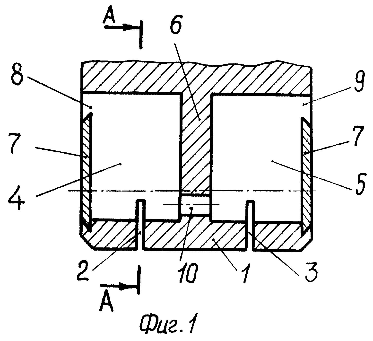
Изобретение относится к области машиностроения. В венце одного из зубчатых колес зубчатой передачи выполнены радиальные прорези малой ширины. С торцовых поверхностей каждого зуба выполнены карманы для жидкостного смазочного материала. Полости карманов закрыты планками с протоками для жидкостного смазочного материала у ножки каждого зуба. Карманы разделены перегородкой с отверстием у головки зуба. Технический результат - повышение нагрузочной способности и долговечности передачи. 3 ил.
|