Промышленная Сибирь Ярмарка Сибири Промышленность СФО Электронные торги НОУ-ХАУ Электронные магазины Карта сайта
 
 

Поиск патентов

Как искать?
Реферат
Название
Публикация
Регистрационный номер
Имя заявителя
Имя изобретателя
Имя патентообладателя

    





Оформить заказ и задать интересующие Вас вопросы Вы можете напрямую c 6-00 до 14-30 по московскому времени кроме сб, вс. whatsapp 8-950-950-9888

На данной странице представлена ознакомительная часть выбранного Вами патента

Для получения более подробной информации о патенте (полное описание, формула изобретения и т.д.) Вам необходимо сделать заказ. Нажмите на «Корзину»


ВИНТОВОЙ МЕХАНИЗМ

Номер публикации патента: 2400660

Вид документа: C2 
Страна публикации: RU 
Рег. номер заявки: 2008139868/11 
  Сделать заказПолучить полное описание патента

Редакция МПК: 
Основные коды МПК: F16H025/20    
Аналоги изобретения: RU 2291994 С1, 20.10.2007. GB 1103616 А, 21.02.1968. GB 1387812 А, 19.03.1975. US 2002162410 A1, 07.11.2002. 

Имя заявителя: Открытое акционерное общество "Информационные спутниковые системы" им. академика М.Ф. Решетнева" (RU) 
Изобретатели: Овечкин Геннадий Иванович (RU)
Шипилов Геннадий Вениаминович (RU)
Леканов Анатолий Васильевич (RU)
Халиманович Владимир Иванович (RU)
Гурылев Андрей Борисович (RU)
Комаров Сергей Александрович (RU)
Шило Владимир Константинович (RU)
Аракин Михаил Викторович (RU)
Савосин Геннадий Валерьевич (RU)
Логанов Александр Анатольевич (RU) 
Патентообладатели: Открытое акционерное общество "Информационные спутниковые системы" им. академика М.Ф. Решетнева" (RU) 

Реферат


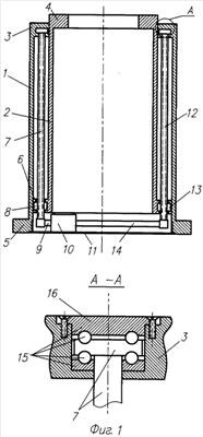
Изобретение относится к машиностроению, а именно к механизмам для преобразования вращательного движения в поступательное. Винтовой механизм содержит цилиндрический корпус, выполненный с верхним и нижним фланцами, винт с гайкой и шестеренчатый электропривод с выходным валом, закрепленный на нижнем фланце. Внутри цилиндрического корпуса расположена выдвижная штанга, продольная ось которой совпадает с продольной осью корпуса. Гайка неподвижно закреплена на нижнем фланце выдвижной штанги. Винт закреплен одним своим концом с возможностью его вращения на верхнем внутреннем фланце корпуса, а другим своим концом винт выполнен выходящим из гайки наружу нижнего наружного фланца выдвижной штанги и связан с основным выходным валом указанного электропривода. Боковые поверхности указанных фланцев, обращенные к стенкам соответственно корпуса и выдвижной штанги, выполнены подвижно сопряженными с ними. Механизм также содержит дополнительную пару винта и гайки, установленную аналогично основной паре с диаметрально противоположной стороны относительно стенок корпуса и выдвижной штанги. Один из концов дополнительного винта связан с дополнительным выходным валом указанного электропривода. Решение направлено на повышение надежности и точности работы механизма, улучшение габаритно-массовых характеристик механизма. 3 з.п. ф-лы, 2 ил.

Дирекция сайта "Промышленная Сибирь"
Россия, г.Омск, ул.Учебная, 199-Б, к.408А
Сайт открыт 01.11.2000
© 2000-2018 Промышленная Сибирь
Разработка дизайна сайта:
Дизайн-студия "RayStudio"