Промышленная Сибирь Ярмарка Сибири Промышленность СФО Электронные торги НОУ-ХАУ Электронные магазины Карта сайта
 
 

Поиск патентов

Как искать?
Реферат
Название
Публикация
Регистрационный номер
Имя заявителя
Имя изобретателя
Имя патентообладателя

    





Оформить заказ и задать интересующие Вас вопросы Вы можете напрямую c 6-00 до 14-30 по московскому времени кроме сб, вс. whatsapp 8-950-950-9888

На данной странице представлена ознакомительная часть выбранного Вами патента

Для получения более подробной информации о патенте (полное описание, формула изобретения и т.д.) Вам необходимо сделать заказ. Нажмите на «Корзину»


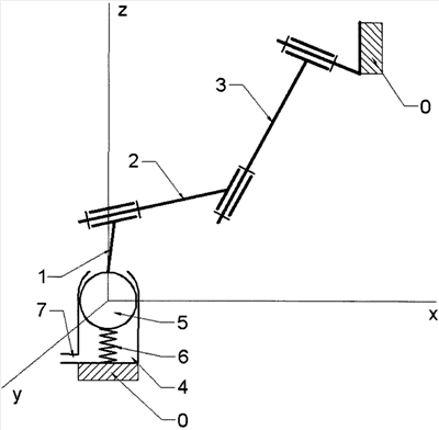
ПРОСТРАНСТВЕННЫЙ ШАРНИРНЫЙ ЧЕТЫРЕХЗВЕННИК

Номер публикации патента: 2446331

Вид документа: C1 
Страна публикации: RU 
Рег. номер заявки: 2010145407/11 
  Сделать заказПолучить полное описание патента

Редакция МПК: 
Основные коды МПК: F16H021/00   F16H021/46   F16J001/02    
Аналоги изобретения: Малышев А.П., Воробьев П.А. Механика и конструктивные расчеты ткацких станков. Государственное научно-техническое издательство машиностроительной литературы. - М., 1960, с.83, 85, фиг.62. Артоболевский И.И. Механизмы в современной технике: Справочное пособие. В 7 томах. Т.VI и VII. - М.: Наука. Главная редакция физико-математической литературы,1981, с.514, механизм 4067. WO 2007079707 A1, 19.07.2007. GB 984135 A, 24.02.1965. US 2006162549 A1, 27.07.2006. CN 101832262 A, 15.09.2010. RU 2127842 C1, 20.03.1999. 

Имя заявителя: Государственное образовательное учреждение высшего профессионального образования "Сибирский государственный индустриальный университет" (RU) 
Изобретатели: Дворников Леонид Трофимович (RU)
Обрядин Андрей Александрович (RU) 
Патентообладатели: Государственное образовательное учреждение высшего профессионального образования "Сибирский государственный индустриальный университет" (RU) 

Реферат


Изобретение относится к машиностроению и может быть использовано при создании пространственных четырехзвенных механизмов. Пространственный шарнирный четырехзвенник содержит ведущее звено, шатун, коромысло и стойку. Ведущее звено соединено со стойкой через сферический поршень, который помещен в гидро- или пневмоцилиндр. Между сферическим поршнем и корпусом цилиндра установлен упругий элемент. При этом сферический поршень и шатун, шатун и коромысло, а также коромысло со стойкой образуют вращательные кинематические пары пятого класса - шарниры. Техническим результатом является создание механизма для воспроизведения пространственных кривых или обеспечения движения различных инструментов. 1 ил.

Дирекция сайта "Промышленная Сибирь"
Россия, г.Омск, ул.Учебная, 199-Б, к.408А
Сайт открыт 01.11.2000
© 2000-2018 Промышленная Сибирь
Разработка дизайна сайта:
Дизайн-студия "RayStudio"