Промышленная Сибирь Ярмарка Сибири Промышленность СФО Электронные торги НОУ-ХАУ Электронные магазины Карта сайта
 
 

Поиск патентов

Как искать?
Реферат
Название
Публикация
Регистрационный номер
Имя заявителя
Имя изобретателя
Имя патентообладателя

    





Оформить заказ и задать интересующие Вас вопросы Вы можете напрямую c 6-00 до 14-30 по московскому времени кроме сб, вс. whatsapp 8-950-950-9888

На данной странице представлена ознакомительная часть выбранного Вами патента

Для получения более подробной информации о патенте (полное описание, формула изобретения и т.д.) Вам необходимо сделать заказ. Нажмите на «Корзину»


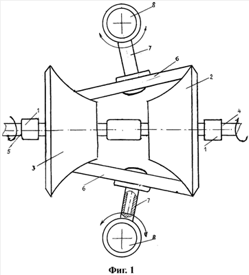
ТОРОВЫЙ ВАРИАТОР

Номер публикации патента: 2371618

Вид документа: C2 
Страна публикации: RU 
Рег. номер заявки: 2007142064/11 
  Сделать заказПолучить полное описание патента

Редакция МПК: 
Основные коды МПК: F16H015/38    
Аналоги изобретения: ПРОНИН Б.А., РЕВКОВ Г.А. БЕССТУПЕНЧАТЫЕ, КЛИНОРЕМЕННЫЕ И ФРИКЦИОННЫЕ ПЕРЕДАЧИ (ВАРИАТОРЫ). - М.: Машиностроение, 1980, с.232-236, рис.132, 133. DE 10361332 A1, 10.02.2005. EP 1180616 A, 20.02.2002. 

Имя заявителя: Государственное образовательное учреждение высшего профессионального образования "Самарский государственный архитектурно-строительный университет" (СГАСУ) (RU) 
Изобретатели: Григорашенко Иван Артемович (RU) 
Патентообладатели: Государственное образовательное учреждение высшего профессионального образования "Самарский государственный архитектурно-строительный университет" (СГАСУ) (RU) 

Реферат


Изобретение относится к машиностроению и может быть использовано в механизмах с плавным регулированием скорости. Вариатор содержит ведущее и ведомое торовые колеса (2, 3) и ролик (6). Их образующие выполнены в виде выпуклой и вогнутой кривых поверхностей. Благодаря выполнению образующих рабочих поверхностей ведущего и ведомого элементов по определенной зависимости увеличивается площадь контакта фрикционных пар. Такое выполнение улучшает кинематические характеристики вариатора. 3 ил., 1 табл.

Дирекция сайта "Промышленная Сибирь"
Россия, г.Омск, ул.Учебная, 199-Б, к.408А
Сайт открыт 01.11.2000
© 2000-2018 Промышленная Сибирь
Разработка дизайна сайта:
Дизайн-студия "RayStudio"