Промышленная Сибирь Ярмарка Сибири Промышленность СФО Электронные торги НОУ-ХАУ Электронные магазины Карта сайта
 
 

Поиск патентов

Как искать?
Реферат
Название
Публикация
Регистрационный номер
Имя заявителя
Имя изобретателя
Имя патентообладателя

    





Оформить заказ и задать интересующие Вас вопросы Вы можете напрямую c 6-00 до 14-30 по московскому времени кроме сб, вс. whatsapp 8-950-950-9888

На данной странице представлена ознакомительная часть выбранного Вами патента

Для получения более подробной информации о патенте (полное описание, формула изобретения и т.д.) Вам необходимо сделать заказ. Нажмите на «Корзину»


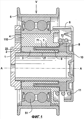
МЕХАНИЗМ НАТЯЖЕНИЯ

Номер публикации патента: 2464465

Вид документа: C1 
Страна публикации: RU 
Рег. номер заявки: 2011114995/11 
  Сделать заказПолучить полное описание патента

Редакция МПК: 
Основные коды МПК: F16H007/12    
Аналоги изобретения: WO 03048606 A1, 12.06.2003. RU 2302570 C2, 10.07.2007. US 2008171622 A1, 17.07.2008. GB 2249152 A, 29.04.1992. 

Имя заявителя: ДЗЕ ГЕЙТС КОРПОРЕЙШН (US) 
Изобретатели: УОРД Питер Алан (US)
ХАЛЛЕН Юрген (DE) 
Патентообладатели: ДЗЕ ГЕЙТС КОРПОРЕЙШН (US) 
Приоритетные данные: 18.09.2008 US 12/284,111 

Реферат


Изобретение относится к механизму натяжения. Механизм натяжения содержит основание (6), имеющее втулку (10); рычаг (4), шарнирно зацепленный с втулкой; пружину (11), подсоединенную между рычагом и основанием; шкив (5), соединенный с помощью оси с рычагом; регулировочное устройство (1), сцепленное с втулкой для того, чтобы вращательно регулировать положение втулки на опорной поверхности; и три или более концентрических цилиндрических вкладыша (2, 7, 9). Каждый вкладыш сцепляется посредством силы трения с рычагом и втулкой для демпфирования движения рычага и подходит для работы со смазывающим покрытием. 3 з.п. ф-лы, 2 ил.

Дирекция сайта "Промышленная Сибирь"
Россия, г.Омск, ул.Учебная, 199-Б, к.408А
Сайт открыт 01.11.2000
© 2000-2018 Промышленная Сибирь
Разработка дизайна сайта:
Дизайн-студия "RayStudio"