|
На данной странице представлена ознакомительная часть выбранного Вами патента
Для получения более подробной информации о патенте (полное описание, формула изобретения и т.д.) Вам необходимо сделать заказ. Нажмите на «Корзину»
| АВТОМАТИЧЕСКАЯ БЕССТУПЕНЧАТАЯ МЕХАНИЧЕСКАЯ ПЕРЕДАЧА |  |
Номер публикации патента: 2171929 |  |
| Редакция МПК: | 7 | | Основные коды МПК: | F16H033/14 F16H003/74 | | Аналоги изобретения: | RU 2109188 C1, 20.04.1998. RU 2072716 C1, 27.01.1997. |
| Имя заявителя: | Кочетков Борис Федорович | | Изобретатели: | Кочетков Б.Ф. | | Патентообладатели: | Кочетков Борис Федорович |
Реферат |  |
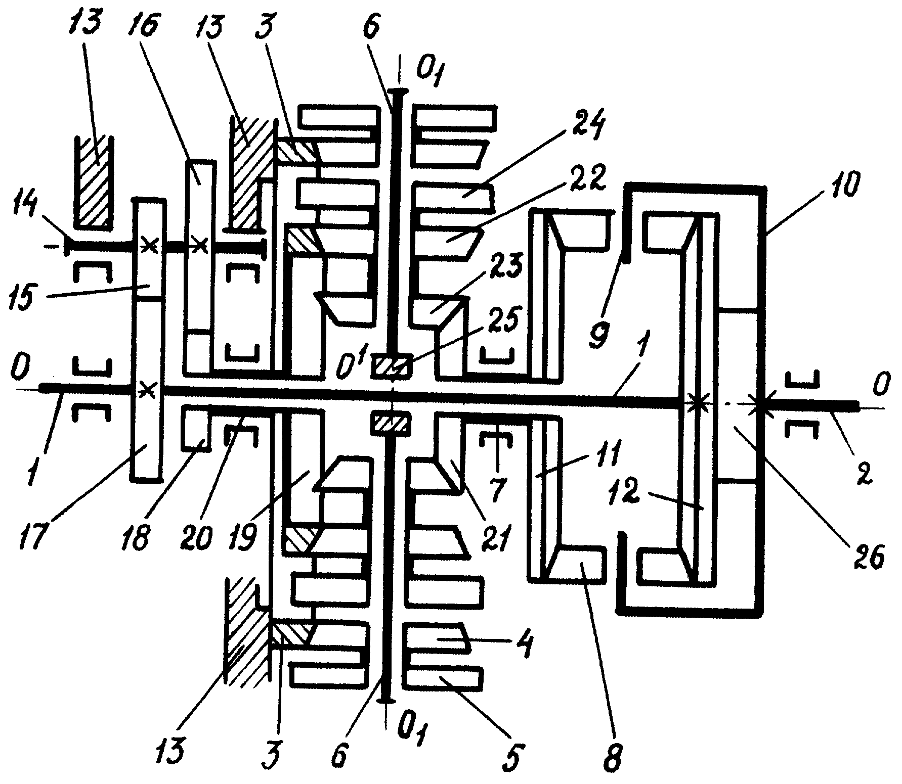
Изобретение относится к машиностроению, транспортному машиностроению, станкостроению. Передача содержит входной 1 и выходной 2 валы, инерционное тормозное устройство и дифференциал. Инерционное тормозное устройство содержит центральное неподвижное корпусное опорное колесо 3, взаимодействующее с основными сателлитами 4 и жестко связанными с ними основными маховиками 5, размещенными на радиальных осях 6 водила, установленного с возможностью независимого вращения на входном валу 1. На радиальных осях 6 водила размещены дополнительные сателлиты 22, 23, соосно сблокированные с дополнительными маховиками 24. Внешние относительно оси O-O передачи из этих сателлитов 22 взаимодействуют с центральным подвижным опорным колесом 19, которое при помощи полого промежуточного вала 20 и двух пар зубчатых колес 17, 15 и 16, 18 связано с входным валом 1. Из указанных колес два колеса 15, 16 закреплены на установленном в корпусе 13 передачи опорном валу 14. Внутренние дополнительные сателлиты 23 находятся в зацеплении с центральным ведущим колесом 21, которое при помощи полого ведущего вала 7 жестко соединено с первым центральным колесом 11 дифференциала. Второе центральное колесо 12 дифференциала установлено на входном валу 1. Водило 10 дифференциала установлено на выходном валу 2. Обеспечено автоматическое бесступенчатое изменение вращающего момента в зависимости от нагрузки на выходном валу. 9 з.п. ф-лы, 1 ил.
|