|
На данной странице представлена ознакомительная часть выбранного Вами патента
Для получения более подробной информации о патенте (полное описание, формула изобретения и т.д.) Вам необходимо сделать заказ. Нажмите на «Корзину»
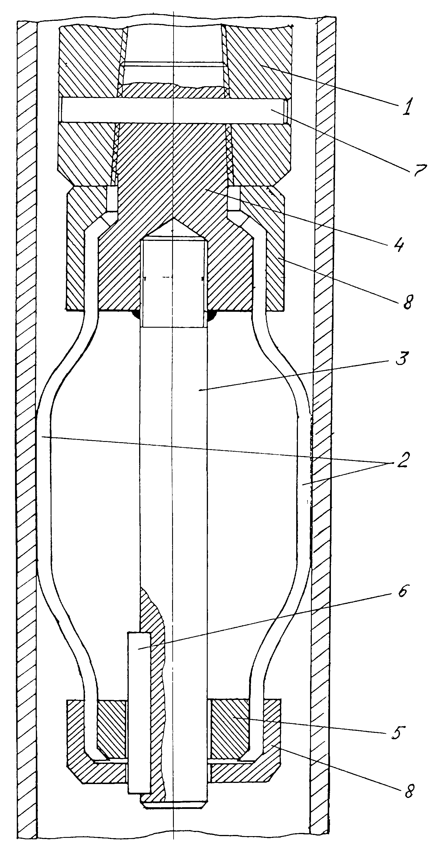
| УСТРОЙСТВО ДЛЯ ГАШЕНИЯ КРУТИЛЬНЫХ КОЛЕБАНИЙ |  |
Номер публикации патента: 2179670 |  |
| Редакция МПК: | 7 | | Основные коды МПК: | F16F015/073 | | Аналоги изобретения: | SU 608026 А, 25.05.1978. SU 1573260 А1, 23.06.1990. SU 1104323 А, 23.07.1984. US 4487402, 11.12.1984. RU 2088742 С1, 27.08.1997. US 4011907, 15.03.1977. |
| Имя заявителя: | Открытое акционерное общество "Акционерная нефтяная компания "Башнефть" | | Изобретатели: | Габдуллин Р.Ф. Саматов М.И. Гарифуллин И.Ф. Беляев В.А. Дорофеев С.В. | | Патентообладатели: | Открытое акционерное общество "Акционерная нефтяная компания "Башнефть" |
Реферат |  |
Устройство предназначено для использования в области добычи жидкости спущенными на трубах в скважину электроцентробежными насосами и направлено на гашение колебаний, возникающих в этой системе. Устройство включает упругие элементы, которые выполнены в виде дугообразных реек, с размещенными концами реек в связанных стержнем втулках. Одни концы дугообразных реек защемлены во втулке-ниппеле, а другие - во втулке-ползуне с возможностью перемещения ее вдоль стержня и исключения поворота вокруг его оси. Такая конструкция уменьшает возникающие при работе двигателя и особенно при его включении и отключении знакопеременные нагрузки на соединениях узлов электроцентробежного насоса, что предотвращает его преждевременную поломку. 1 ил.
|