|
На данной странице представлена ознакомительная часть выбранного Вами патента
Для получения более подробной информации о патенте (полное описание, формула изобретения и т.д.) Вам необходимо сделать заказ. Нажмите на «Корзину»
| АМОРТИЗАТОР |  |
Номер публикации патента: 2172876 |  |
| Редакция МПК: | 7 | | Основные коды МПК: | F16F009/00 | | Аналоги изобретения: | SU 1546743 A1, 28.02.1990. US 5145039, 08.09.1992. FR 2555690 A1, 31.05.1985. FR 2218508, 13.09.1974. US 5316275, 31.05.1994. US 5775666, 07.07.1998. |
| Имя заявителя: | Государственное унитарное предприятие Конструкторское бюро приборостроения | | Изобретатели: | Демидов К.В. Зеленко В.К. Ларшин Н.В. Тимаков В.А. Христич В.Е. Цинский Е.Э. | | Патентообладатели: | Государственное унитарное предприятие Конструкторское бюро приборостроения |
Реферат |  |
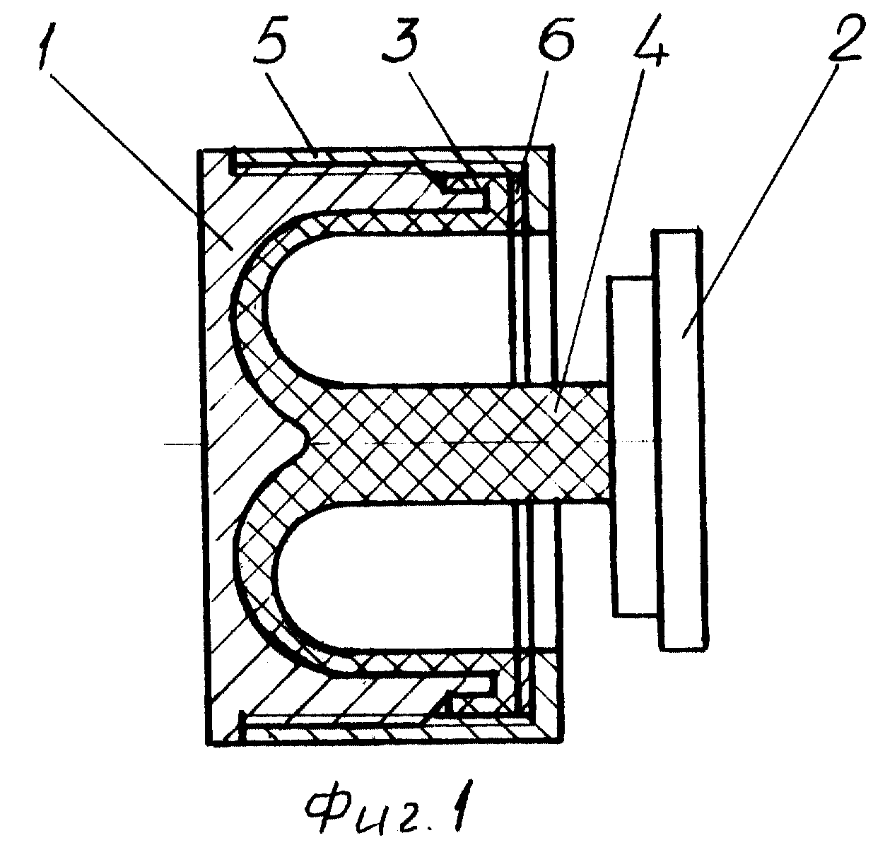
Изобретение относится к машиностроению и может быть использовано во всех областях народного хозяйства для уменьшения вибрации, передаваемой от источника вибрации на фундамент, воздействия вибрации на руки оператора при работе с многоударными пневматическими машинами, а также в качестве средств виброизоляции приборов, аппаратуры и других объектов, работающих под воздействием переменных статистических усилий или движущихся с ускорением. Технический результат - повышение эффективности гашения вибрации вплоть до полного исключения ее воздействия. Вакуумный амортизатор содержит два основания и размещенный между ними рабочий элемент. Одно из оснований выполнено в виде стакана. Его внутренний объем герметизирован рабочим элементом, который представляет собой эластичную газонепроницаемую мембрану, наружная поверхность которой имеет профиль, соответствующий профилю внутренней поверхности стакана, что обеспечивает их плотное прилегание и возможность получения вакуума в замембранном пространстве при приложении растягивающих усилий к основаниям. Внутренняя поверхность мембраны жестко соединена с другим основанием, например, посредством выступа, образованного на ее поверхности. 2 ил.
|