|
На данной странице представлена ознакомительная часть выбранного Вами патента
Для получения более подробной информации о патенте (полное описание, формула изобретения и т.д.) Вам необходимо сделать заказ. Нажмите на «Корзину»
| МУФТА С УПРУГИМИ БРУСКАМИ (ВАРИАНТЫ) |  |
Номер публикации патента: 2162420 |  |
| Редакция МПК: | 7 | | Основные коды МПК: | B60K025/00 F16D001/06 | | Аналоги изобретения: | Кудрявцев В.Н. Детали машин. - М.: Машиностроение, 1980, с.438. Тепловоз ТЭМ2У "Руководство по эксплуатации" - М.: Транспорт, 1982, с.42. RU 2068126 C1, 10.20.1996. RU 2056304 C1, 03.12.1996. |
| Имя заявителя: | Открытое акционерное общество "Московский машиностроительный завод "Вперед" | | Изобретатели: | Ляшенко А.А. Клевакин В.К. Антюхин Г.Г. Рыбаулин В.М. Мымрин В.Н. Гришаев Н.К. | | Патентообладатели: | Открытое акционерное общество "Московский машиностроительный завод "Вперед" |
Реферат |  |
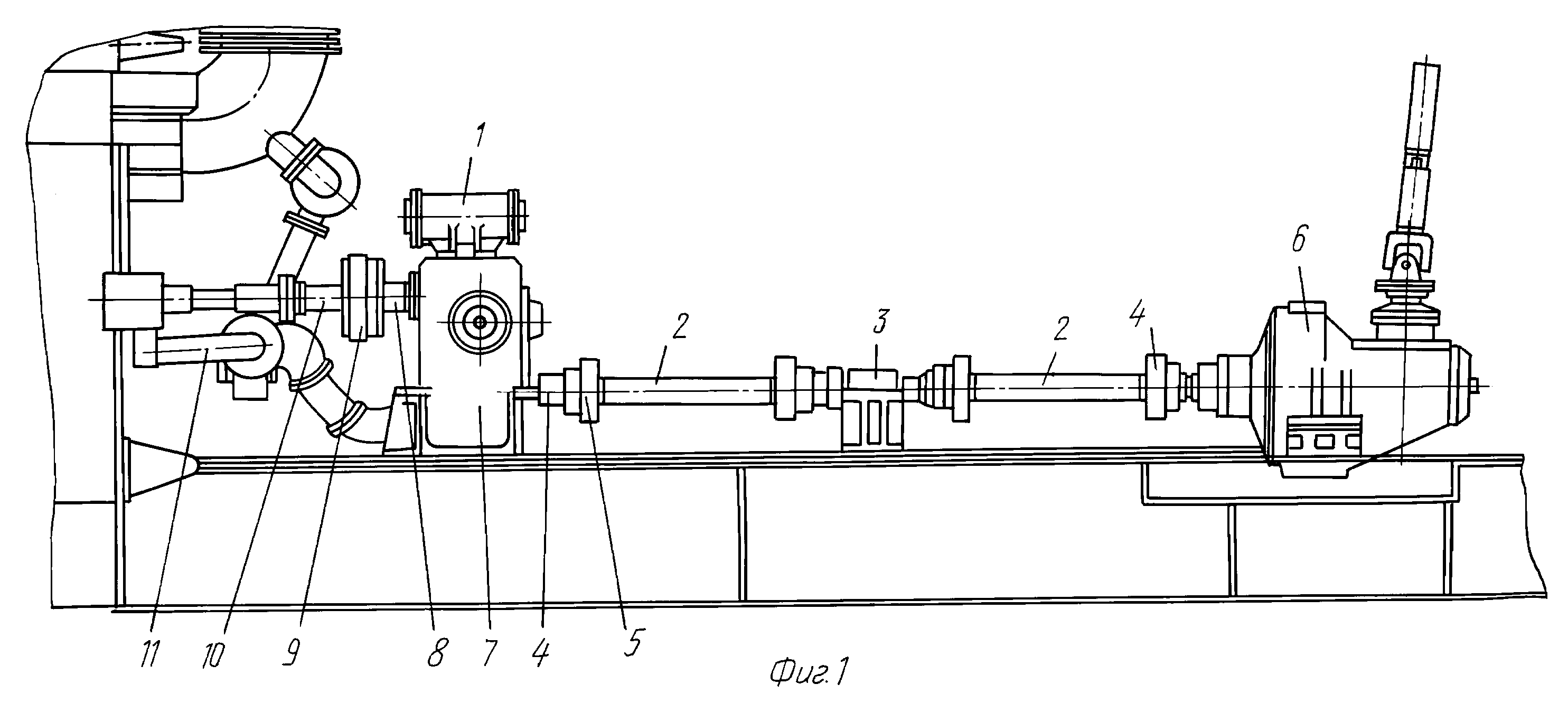
Изобретение относится к приводам наземных транспортных средств, в частности к приводам тепловозов, и содержит муфту с упругими брусками, включающую две соосно установленные на валу полумуфты с отверстиями, в которых расположены упругие элементы. Муфта также содержит четное количество упругих элементов, равное по крайней мере 6, помимо этого, полумуфты сочленены между собой посредством выполненных на них соответственно выступов и пазов, имеющих форму уголков, и содержат их четное и одинаковое количество, равное по крайней мере 4. Опорная часть муфты выполнена в виде двух сменных втулок, одна из которых расположена в другой, имеющей форму полого цилиндрического стакана, причем одна из них закреплена на валу, а другая на переходнике наружной полумуфты, при этом втулки установлены с зазором и с возможностью перемещения относительно друг друга. Технический результат - повышение срока службы тепловоза и его надежности в условиях тяжелого режима работы. 2 с. и 2 з.п. ф-лы, 3 ил.
|