Промышленная Сибирь Ярмарка Сибири Промышленность СФО Электронные торги НОУ-ХАУ Электронные магазины Карта сайта
 
 

Поиск патентов

Как искать?
Реферат
Название
Публикация
Регистрационный номер
Имя заявителя
Имя изобретателя
Имя патентообладателя

    





Оформить заказ и задать интересующие Вас вопросы Вы можете напрямую c 6-00 до 14-30 по московскому времени кроме сб, вс. whatsapp 8-950-950-9888

На данной странице представлена ознакомительная часть выбранного Вами патента

Для получения более подробной информации о патенте (полное описание, формула изобретения и т.д.) Вам необходимо сделать заказ. Нажмите на «Корзину»


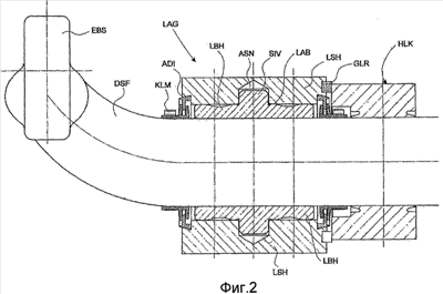
ПОДШИПНИКОВАЯ ОПОРА ТОРСИОННОЙ РЕССОРЫ СИСТЕМЫ ПОДРЕССОРИВАНИЯ БОКОВОЙ КАЧКИ РЕЛЬСОВОГО ТРАНСПОРТНОГО СРЕДСТВА

Номер публикации патента: 2415315

Вид документа: C2 
Страна публикации: RU 
Рег. номер заявки: 2008133573/11 
  Сделать заказПолучить полное описание патента

Редакция МПК: 
Основные коды МПК: F16C017/02   F16C033/74   B61F005/30   F16F001/38    
Аналоги изобретения: ЕР 1067307 А2, 10.01.2001. US 3939779 А, 24.02.1976. US 4172591 А, 30.10.1979. RU 2168431 С2, 10.06.2001. 

Имя заявителя: СИМЕНС ТРАНСПОРТЕЙШН СИСТЕМЗ ГМБХ УНД КО. КГ (AT) 
Изобретатели: ХОЯК Герхард (AT) 
Патентообладатели: СИМЕНС ТРАНСПОРТЕЙШН СИСТЕМЗ ГМБХ УНД КО. КГ (AT) 
Приоритетные данные: 16.01.2006 AT A63/2006 

Реферат


Изобретение относится к подшипнику для подшипниковой опоры торсионной рессоры системы подрессоривания боковой качки рельсового транспортного средства. Подшипник (LAG) для подшипниковой опоры торсионной рессоры (DSF) системы подрессоривания боковой качки рельсового транспортного средства содержит разъемную втулку (LAB) и охватывающий втулку (LAB) разъемный вкладыш (LAS), соединенный с кузовом вагона/тележкой (WAK/DGS). При этом по меньшей мере с одного конца подшипника (LAG) предусмотрена уплотнительная пара (ADI, IDI), состоящая из внутреннего эластичного уплотнения (IDI), установленного на торсионной рессоре (DSF), и внешнего эластичного уплотнения (ADI), установленного на вкладыше (LAS) подшипника (LAG). Причем каждое уплотнение пары содержит по меньшей мере одну окружную уплотнительную фаску (DI1, DI2; DAL), а уплотнения посредством уплотнительных фасок взаимодействуют уплотняющим образом. Технический результат: увеличение срока службы за счет уменьшения проникновений влаги и грязи и уменьшения вероятности заклинивания, уменьшение времени на монтаж. 6 з.п. ф-лы, 3 ил.

Дирекция сайта "Промышленная Сибирь"
Россия, г.Омск, ул.Учебная, 199-Б, к.408А
Сайт открыт 01.11.2000
© 2000-2018 Промышленная Сибирь
Разработка дизайна сайта:
Дизайн-студия "RayStudio"