Промышленная Сибирь Ярмарка Сибири Промышленность СФО Электронные торги НОУ-ХАУ Электронные магазины Карта сайта
 
 

Поиск патентов

Как искать?
Реферат
Название
Публикация
Регистрационный номер
Имя заявителя
Имя изобретателя
Имя патентообладателя

    





Оформить заказ и задать интересующие Вас вопросы Вы можете напрямую c 6-00 до 14-30 по московскому времени кроме сб, вс. whatsapp 8-950-950-9888

На данной странице представлена ознакомительная часть выбранного Вами патента

Для получения более подробной информации о патенте (полное описание, формула изобретения и т.д.) Вам необходимо сделать заказ. Нажмите на «Корзину»


ПОДШИПНИКОВЫЙ УЗЕЛ ( ВАРИАНТЫ ) ДЛЯ УСТАНОВКИ НА ШЕЙКУ

Номер публикации патента: 2395732

Вид документа: C2 
Страна публикации: RU 
Рег. номер заявки: 2007136285/11 
  Сделать заказПолучить полное описание патента

Редакция МПК: 
Основные коды МПК: F16C019/38   F16C033/76   F16C035/063   B61F015/22    
Аналоги изобретения: US 6561559 В1, 13.05.2003. DE 4222852 А1, 13.01.1994. US 3169809 А, 16.12.1965. WO 0238428 А1, 16.05.2002. US 5549395 А, 27.08.1996. RU 2129966 С1, 10.05.1999. 

Имя заявителя: ДЗЕ ТИМКЕН КОМПАНИ (US) 
Изобретатели: ДИКЕРХОФФ Рональд П. (US)
ТОТ Дэвид Г. (US) 
Патентообладатели: ДЗЕ ТИМКЕН КОМПАНИ (US) 
Приоритетные данные: 02.03.2005 US 60/657,885 

Реферат


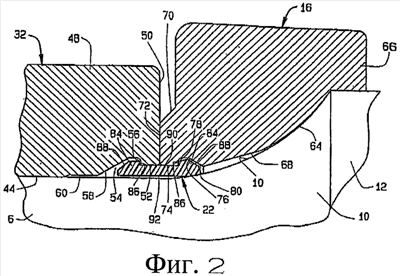
Изобретение относится к подшипниковым узлам для установки на шейки, оканчивающиеся галтелями, в частности к кольцевой прокладке совместно с кольцевым фиксатором, соединенным с кольцевой прокладкой. Подшипниковый узел для установки на шейку (6) на конце оси железнодорожного вагона содержит подшипник, кольцевую прокладку (16) и кольцевой фиксатор (22). Подшипник включает внутреннее кольцо (32), имеющее заднюю поверхность (50) и расточку (44), которая открыта на задней поверхности. Кольцевая прокладка (16) имеет торцевую поверхность (72), обращенную к задней поверхности (50) и расточку, которая открыта на задней поверхности и выполнена с возможностью вмещения галтели (10) на шейке (6), при этом кольцевая прокладка (16) имеет паз (76), открытый в расточку и в направлении оси. Причем в кольце (32) предусмотрен паз (54), также открытый в направлении оси. Фиксатор (22) расположен в прокладке (16) и в кольце (32) и перекрывает пространство между пазами (54, 76), при этом кольцевой фиксатор имеет ребра (84), выступающие в пазы (54, 76). Фиксатор (22) выполнен из эластичного материала и с возможностью отклонения к галтели (10), на которую устанавливается прокладка (16) для образования барьера для текучей среды с галтелью (10). Во втором варианте в подшипниковый узел включено компенсационное кольцо, которое расположено между кольцом (32) и прокладкой (16), а фиксатор (22) располагается в прокладке (16) и в компенсационном кольце. Технический результат: обеспечение барьеров для текучей среды между внутренним кольцом подшипника (или компенсационном кольцом) и кольцевой прокладкой и между кольцевой прокладкой и галтелью. 2 н. и 2 з.п. ф-лы, 5 ил.

Дирекция сайта "Промышленная Сибирь"
Россия, г.Омск, ул.Учебная, 199-Б, к.408А
Сайт открыт 01.11.2000
© 2000-2018 Промышленная Сибирь
Разработка дизайна сайта:
Дизайн-студия "RayStudio"