Промышленная Сибирь Ярмарка Сибири Промышленность СФО Электронные торги НОУ-ХАУ Электронные магазины Карта сайта
 
 

Поиск патентов

Как искать?
Реферат
Название
Публикация
Регистрационный номер
Имя заявителя
Имя изобретателя
Имя патентообладателя

    





Оформить заказ и задать интересующие Вас вопросы Вы можете напрямую c 6-00 до 14-30 по московскому времени кроме сб, вс. whatsapp 8-950-950-9888

На данной странице представлена ознакомительная часть выбранного Вами патента

Для получения более подробной информации о патенте (полное описание, формула изобретения и т.д.) Вам необходимо сделать заказ. Нажмите на «Корзину»


ОПОРНЫЙ ПОДШИПНИК СКОЛЬЖЕНИЯ

Номер публикации патента: 2451844

Вид документа: C2 
Страна публикации: RU 
Рег. номер заявки: 2010141748/11 
  Сделать заказПолучить полное описание патента

Редакция МПК: 
Основные коды МПК: F16C017/03   F16C013/04   B02C017/18    
Аналоги изобретения: UA 90240 С2, 12.04.2010. US 3887245 А, 03.06.1975. US 3784265 А, 08.01.1974. US 4032199 А, 28.06.1977. SU 766634 А1, 30.09.1980. 

Имя заявителя: Егошин Юрий Сергеевич (UA),
Егошин Константин Юрьевич (UA),
Дмитриенко Валерий Станиславович (UA) 
Изобретатели: Егошин Юрий Сергеевич (UA)
Егошин Константин Юрьевич (UA) 
Патентообладатели: Егошин Юрий Сергеевич (UA)
Егошин Константин Юрьевич (UA)
Дмитриенко Валерий Станиславович (UA) 

Реферат


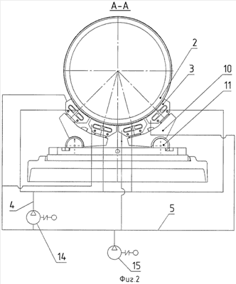
Изобретение относится к подшипникам скольжения для цилиндрических опор большого диаметра, в частности для тяжелонагруженных мельниц реверсивного вращения, применяемых на рудообогатительных предприятиях или на угледробильных мельницах больших тепловых электростанций. Опорный подшипник скольжения содержит установленную на фундамент опорную плиту со смонтированными на ней двумя двуплечими балансирами (10), на которых через сферические подпятники установлены по два опорных башмака (3) с антифрикционным покрытием и канавками на их поверхностях скольжения для создания масляной гидростатической пленки гидросистемы низкого давления (5). В центре поверхности скольжения каждого башмака (3) расположено отверстие, связанное с гидросистемой высокого давления (4) для создания условий облегчения приведения барабана во вращение или предотвращения аварийного заклинивания путем создания гидроподпора. Каждый башмак (3) также снабжен индивидуальной системой водяного охлаждения и термодатчиком контроля температурного состояния башмака. Расположенное в центре поверхности скольжения башмака (3) отверстие оборудовано расположенной вокруг него полостью сферической или конической формы, связанной с гидросистемой (4). Каждый термодатчик соединен с устройством звуковой аварийной сигнализации и устройством автоматического отключения главного двигателя привода вращения барабана с аварийной подачей масла через гидросистему (4) в зону контакта башмаков (3) с цапфой (2) барабана. Технический результат: улучшение смазки, снижение износа и устранение аварийных ситуаций за счет надежного контроля температурного режима поверхностей скольжения башмаков. 3 з.п. ф-лы, 5 ил.

Дирекция сайта "Промышленная Сибирь"
Россия, г.Омск, ул.Учебная, 199-Б, к.408А
Сайт открыт 01.11.2000
© 2000-2018 Промышленная Сибирь
Разработка дизайна сайта:
Дизайн-студия "RayStudio"