Промышленная Сибирь Ярмарка Сибири Промышленность СФО Электронные торги НОУ-ХАУ Электронные магазины Карта сайта
 
 

Поиск патентов

Как искать?
Реферат
Название
Публикация
Регистрационный номер
Имя заявителя
Имя изобретателя
Имя патентообладателя

    





Оформить заказ и задать интересующие Вас вопросы Вы можете напрямую c 6-00 до 14-30 по московскому времени кроме сб, вс. whatsapp 8-950-950-9888

На данной странице представлена ознакомительная часть выбранного Вами патента

Для получения более подробной информации о патенте (полное описание, формула изобретения и т.д.) Вам необходимо сделать заказ. Нажмите на «Корзину»


ОПОРНЫЙ ПОДШИПНИК СКОЛЬЖЕНИЯ ТЯГОВОГО ДВИГАТЕЛЯ ЖЕЛЕЗНОДОРОЖНОГО ЛОКОМОТИВА (ВАРИАНТЫ)

Номер публикации патента: 2410580

Вид документа: C2 
Страна публикации: RU 
Рег. номер заявки: 2006140521/11 
  Сделать заказПолучить полное описание патента

Редакция МПК: 
Основные коды МПК: F16C017/02   F16C023/04   F16C025/02    
Аналоги изобретения: US 4940002 A, 10.07.1990. US 4995735 A, 26.02.1991. SU 903608 A1, 07.02.1982. GB 355493 A, 27.08.1931. 

Имя заявителя: Магнус Дивижн оф ЛВ Венчез, Инк. (US) 
Изобретатели: БАЙЕН Пол (US)
ФОСТЕР Роберт Б. (US)
МЭКЛИН Джон И. (US) 
Патентообладатели: Магнус Дивижн оф ЛВ Венчез, Инк. (US) 
Приоритетные данные: 03.06.2004 US 10/862,114 

Реферат


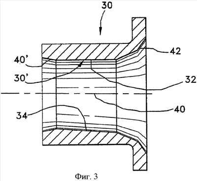
Изобретение относится к опорному подшипнику, посредством которого тяговый двигатель частично поддерживается на оси железнодорожной тележки, установленной в нижней части локомотива. Опорный подшипник (30) снабжен отверстием для крепления тягового двигателя к цапфе оси тележки. Отверстие имеет участок верхней поверхности (32) и участок нижней поверхности (34), причем участок верхней поверхности и участок нижней поверхности имеют среднюю часть. Средняя часть участка поверхности (32) расположена практически горизонтально, а средняя часть участка поверхности (34) имеет нисходящий скос в направлении внешнего края. Значение нисходящего скоса средней части участка поверхности (34) приблизительно равно 2×М1, где M1 - значение фактора, вызывающего осевое смещение, обусловленное весом локомотива, или нисходящий скос средней части участка поверхности (34) является функцией осевого смещения М, f(M), где f(M), по крайней мере, непосредственно скоррелирована со значениями, по крайней мере, двух факторов осевого смещения, из которых один фактор осевого смещения обусловлен весом локомотива, а другой обусловлен воздействием пары сил на ось тележки, или средние части представляют собой сегмент усеченного конуса с высотой, имеющей наклон к горизонтали, равный 1×М1, и углом при вершине, равном арктангенсу 2×М1. Также предложен второй вариант выполнения опорного подшипника. Технический результат: создание опорного подшипника, который учитывает скручивающие усилия, связанные с возникновением изгиба оси тележки, вызванным не только весом локомотива, но также наклоном двигателя из-за зазоров в подшипнике и воздействием пары сил на ось, возникающих из-за значительных радиальных нагрузок на опорный подшипник, расположенный на участке, где находится приводная шестерня, и расположенную сбоку шестерню оси. 2 н. и 3 з.п. ф-лы, 3 ил.

Дирекция сайта "Промышленная Сибирь"
Россия, г.Омск, ул.Учебная, 199-Б, к.408А
Сайт открыт 01.11.2000
© 2000-2018 Промышленная Сибирь
Разработка дизайна сайта:
Дизайн-студия "RayStudio"