Промышленная Сибирь Ярмарка Сибири Промышленность СФО Электронные торги НОУ-ХАУ Электронные магазины Карта сайта
 
 

Поиск патентов

Как искать?
Реферат
Название
Публикация
Регистрационный номер
Имя заявителя
Имя изобретателя
Имя патентообладателя

    





Оформить заказ и задать интересующие Вас вопросы Вы можете напрямую c 6-00 до 14-30 по московскому времени кроме сб, вс. whatsapp 8-950-950-9888

На данной странице представлена ознакомительная часть выбранного Вами патента

Для получения более подробной информации о патенте (полное описание, формула изобретения и т.д.) Вам необходимо сделать заказ. Нажмите на «Корзину»


УСТРОЙСТВО ДЛЯ ФИКСАЦИИ АРМАТУРНОГО СТЕРЖНЯ

Номер публикации патента: 2397377

Вид документа: C2 
Страна публикации: RU 
Рег. номер заявки: 2008127226/11 
  Сделать заказПолучить полное описание патента

Редакция МПК: 
Основные коды МПК: F16B037/08   F16B037/10   E04B002/02   E04C005/12    
Аналоги изобретения: JP 53001925 A, 10.01.1978. JP 2004308203 A, 04.11.2004. GB 1279212 A, 28.06.1972. JP 2002180668 A, 26.06.2002. RU 2108495 C1, 10.04.1998. 

Имя заявителя: ТАМА ХОУМ КО., ЛТД. (JP) 
Изобретатели: НАКАМУРА Митуо (JP) 
Патентообладатели: ТАМА ХОУМ КО., ЛТД. (JP) 
Приоритетные данные: 18.01.2006 (пп.1-2) JP 2006-009843 

Реферат


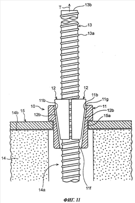
Изобретение относится к крепежным устройствам. Устройство для фиксации арматурного стержня содержит тело, имеющее сквозное отверстие для ввода арматурного стержня, и закладные элементы для установки между арматурным стержнем, введенным в сквозное отверстие, и внутренней периферийной поверхностью тела. Внутренняя периферийная поверхность тела имеет форму воронки. Каждый из закладных элементов имеет на своей внутренней периферийной поверхности зацепляющий участок, входящий в зацепление с арматурным стержнем, и коническую поверхность, образованную, по меньшей мере, на части своей наружной периферийной поверхности, входящую в поверхностный контакт с внутренней периферийной поверхностью тела. Зацепляющий участок содержит участок с внутренней винтовой резьбой, образованной на внутренней периферийной поверхности закладных элементов, выполненный с возможностью навинчивания на участок с наружной винтовой резьбой, образованной на наружной поверхности арматурного стержня. Тело содержит вставной участок, имеющий по существу цилиндрическую форму, и фланцевый участок, имеющий наружный диаметр, превышающий диаметр вставного участка. Фланцевый участок на наружной периферии тела имеет пару плоских участков, расположенных параллельно друг другу с противоположных сторон центральной оси сквозного отверстия тела. В результате устройство для фиксации арматурного стержня можно легко зафиксировать в положении, относительно удаленном от концевого участка арматурного стержня, кроме того, оно обеспечивает большую силу сцепления с арматурным стержнем. 1 з.п. ф-лы, 14 ил.

Дирекция сайта "Промышленная Сибирь"
Россия, г.Омск, ул.Учебная, 199-Б, к.408А
Сайт открыт 01.11.2000
© 2000-2018 Промышленная Сибирь
Разработка дизайна сайта:
Дизайн-студия "RayStudio"