|
На данной странице представлена ознакомительная часть выбранного Вами патента
Для получения более подробной информации о патенте (полное описание, формула изобретения и т.д.) Вам необходимо сделать заказ. Нажмите на «Корзину»
| МАСЛЯНЫЙ НАСОС |  |
Номер публикации патента: 2166147 |  |
| Редакция МПК: | 7 | | Основные коды МПК: | F16N013/20 | | Аналоги изобретения: | SU 1728570 A1, 23.04.1992. SU 86675 A, 19.11.1948. FR 2075753 A1, 04.12.1970. GB 1135347 A, 04.12.1968. US 1641486 A, 06.09.1927. |
| Имя заявителя: | Закрытое акционерное общество "Тольяттинский завод автоагрегатов" | | Патентообладатели: | Закрытое акционерное общество "Тольяттинский завод автоагрегатов" |
Реферат |  |
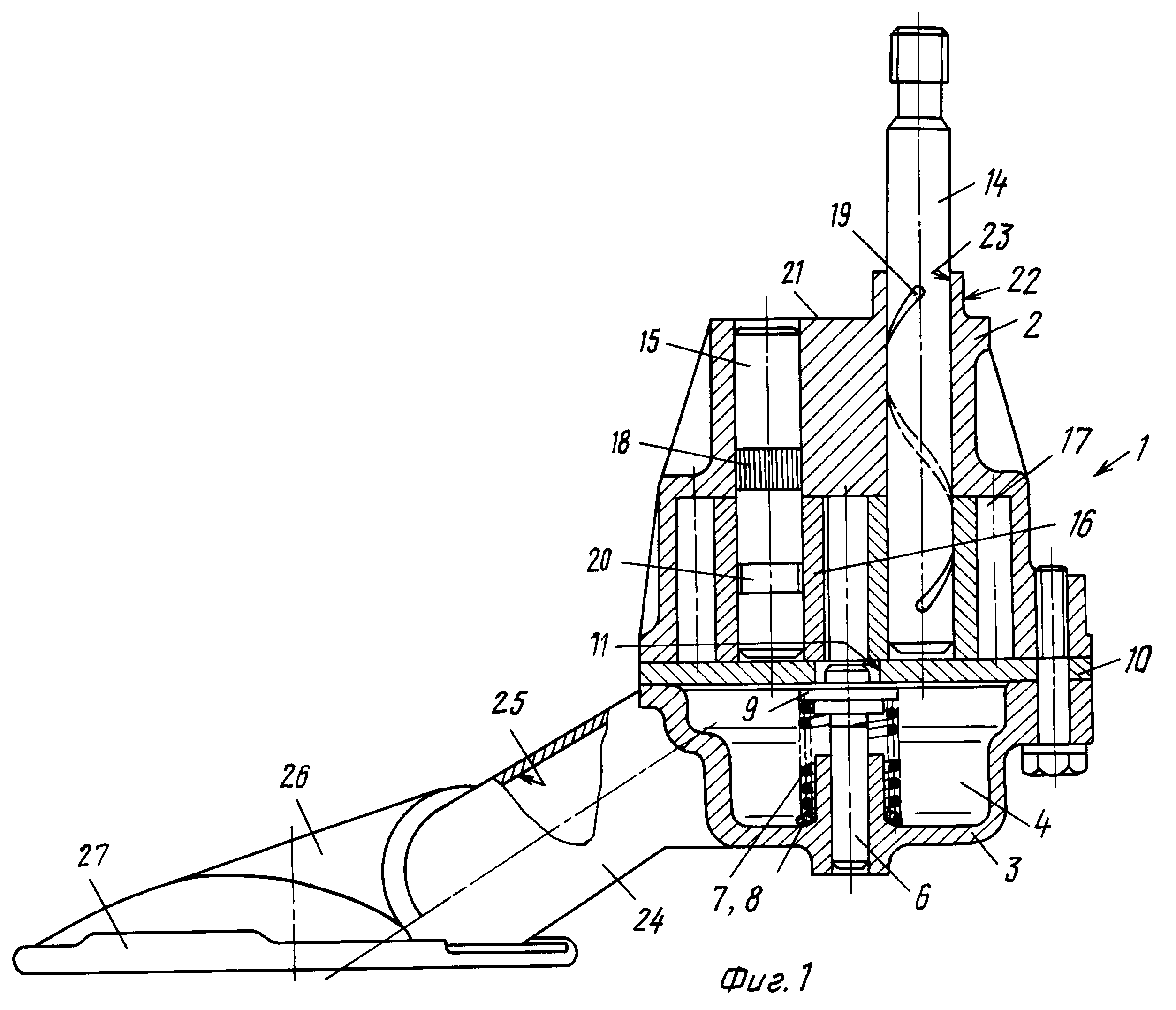
Насос предназначен для подачи нефтепродуктов, включая масло, используемое для ДВС. Насос содержит сборный посредством резьбовых элементов корпус с крышкой, имеющей резьбовое отверстие для подключения штуцера, и с патрубком, имеющим насадку с фильтром, размещенные в корпусе шестерни, установленные на валах, один из которых приводной, и переходную втулку, жестко закрепленную в корпусе и являющуюся опорой одного из валов, сборные части корпуса выполнены фасонными, имеющими внутренние полости, в одной из которых выполнен выступ с установленным в нем редукционным клапаном, в корпусе закреплена металлическая прокладка, имеющая отверстия, вторая же часть корпуса, в которой установлен редукционный клапан, сообщена отверстием с патрубком, имеющим конический участок, сужающийся в направлении движения потока масла. Технический результат - повышение надежности. 5 ил.
|