Промышленная Сибирь Ярмарка Сибири Промышленность СФО Электронные торги НОУ-ХАУ Электронные магазины Карта сайта
 
 

Поиск патентов

Как искать?
Реферат
Название
Публикация
Регистрационный номер
Имя заявителя
Имя изобретателя
Имя патентообладателя

    





Оформить заказ и задать интересующие Вас вопросы Вы можете напрямую c 6-00 до 14-30 по московскому времени кроме сб, вс. whatsapp 8-950-950-9888

На данной странице представлена ознакомительная часть выбранного Вами патента

Для получения более подробной информации о патенте (полное описание, формула изобретения и т.д.) Вам необходимо сделать заказ. Нажмите на «Корзину»


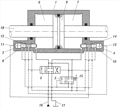
АВТОКОЛЕБАТЕЛЬНЫЙ ГИДРАВЛИЧЕСКИЙ ПРИВОД

Номер публикации патента: 2455536

Вид документа: C1 
Страна публикации: RU 
Рег. номер заявки: 2011108191/06 
  Сделать заказПолучить полное описание патента

Редакция МПК: 
Основные коды МПК: F15B021/12   F15B011/15   F15B013/16   F15B003/00    
Аналоги изобретения: Лаптев Ю.Н. и др. Гидросистемы высоких давлений. - М.: Машиностроение, 1973, с.28, рис.13. Баранов В.Н., Захаров Ю.Е. Электрогидравлические и гидравлические вибрационные механизмы. - М.: Машиностроение, 1977, с.31, рис.1.21, б. RU 2093365 C1, 20.10.1997. DE 2401341 A1, 25.07.1974. JP 2000310203 A, 07.11.2000. US 6272968 B1, 14.08.2001. 

Имя заявителя: Бодров Валерий Владимирович (RU) 
Изобретатели: Гойдо Максим Ефимович (RU)
Бодров Валерий Владимирович (RU)
Багаутдинов Рамиль Мерсеитович (RU) 
Патентообладатели: Бодров Валерий Владимирович (RU) 

Реферат


Привод предназначен для преобразования энергии постоянного потока рабочей жидкости в энергию механических колебаний. Привод состоит из поршневого гидроцилиндра двухстороннего действия, основного четырехлинейного гидрораспределителя с гидравлическим управлением, двух управляющих трехлинейных гидрораспределителей и дополнительного пускового четырехходового двухпозиционного гидрораспределителя с гидравлическим управлением. Золотник пускового гидрораспределителя подпружинен со стороны одного из его торцов посредством пружины с регулируемым усилием предварительного поджатия. Выходной канал и пружинная полость управления пускового гидрораспределителя соединены со сливной гидролинией привода, входной канал и полость управления гидрораспределителя, противоположная пружинной полости, соединены с напорной гидролинией гидравлического источника питания, а каждый из двух исполнительных каналов соединен с соответствующей из рабочих полостей гидроцилиндра. В исходной позиции золотника пускового гидрораспределителя все его каналы заперты, а в рабочей позиции золотника один из исполнительных каналов гидрораспределителя соединен с его входным каналом, а другой исполнительный канал соединен с выходным каналом гидрораспределителя. Технический результат - повышение надежности запуска в работу автоколебательного гидравлического привода. 1 з.п. ф-лы, 1 ил.

Дирекция сайта "Промышленная Сибирь"
Россия, г.Омск, ул.Учебная, 199-Б, к.408А
Сайт открыт 01.11.2000
© 2000-2018 Промышленная Сибирь
Разработка дизайна сайта:
Дизайн-студия "RayStudio"