Промышленная Сибирь Ярмарка Сибири Промышленность СФО Электронные торги НОУ-ХАУ Электронные магазины Карта сайта
 
 

Поиск патентов

Как искать?
Реферат
Название
Публикация
Регистрационный номер
Имя заявителя
Имя изобретателя
Имя патентообладателя

    





Оформить заказ и задать интересующие Вас вопросы Вы можете напрямую c 6-00 до 14-30 по московскому времени кроме сб, вс. whatsapp 8-950-950-9888

На данной странице представлена ознакомительная часть выбранного Вами патента

Для получения более подробной информации о патенте (полное описание, формула изобретения и т.д.) Вам необходимо сделать заказ. Нажмите на «Корзину»


ЭЖЕКТОР

Номер публикации патента: 2366840

Вид документа: C1 
Страна публикации: RU 
Рег. номер заявки: 2008103053/06 
  Сделать заказПолучить полное описание патента

Редакция МПК: 
Основные коды МПК: F04F005/30    
Аналоги изобретения: SU 123279 A, 11.05.1959. RU 2200879 C2, 20.03.2003. RU 2097606 C1, 27.11.1997. US 4396355 A, 02.08.1983. DE 10333535 А1, 05.02.2004. 

Имя заявителя: ОАО "Зеленодольское проектно-конструкторское бюро" (RU) 
Изобретатели: Панченко Владимир Иванович (RU)
Панченко Оксана Владимировна (RU)
Раскин Александр Иосифович (RU)
Рукавишников Александр Иванович (RU)
Сыченков Виталий Алексеевич (RU)
Шарапов Леонид Егорович (RU) 
Патентообладатели: ОАО "Зеленодольское проектно-конструкторское бюро" (RU) 

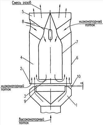
Реферат


Эжектор предназначен для перемещения низконапорного потока с помощью высоконапорного потока среды. Эжектор содержит кольцевое сопло 1 высоконапорного потока и два концентрических кольцевых сопла 2 и 3 низконапорного потока, кольцевую камеру смешения 4 и диффузор 5, образованные наружной обечайкой 6 и центральным телом 7. К внутреннему кольцевому соплу 3 низконапорный поток подводится через пилоны 8, соединяющие обечайку 6 и центральное тело 7. На внутренней стенке сопла высоконапорного потока 1 установлена цилиндрическая обечайка 9, выступающая за срез наружной стенки 10 сопла высоконапорного потока. Цилиндрическая обечайка 9 установлена с возможностью осевого перемещения относительно среза наружной стенки сопла высоконапорного потока. Наружная стенка 10 сопла высоконапорного потока выполнена конической. Технический результат - создание требуемого поля параметров (температур, концентраций, скоростей) на срезе диффузора. 2 з.п. ф-лы, 1 ил.

Дирекция сайта "Промышленная Сибирь"
Россия, г.Омск, ул.Учебная, 199-Б, к.408А
Сайт открыт 01.11.2000
© 2000-2018 Промышленная Сибирь
Разработка дизайна сайта:
Дизайн-студия "RayStudio"