Промышленная Сибирь Ярмарка Сибири Промышленность СФО Электронные торги НОУ-ХАУ Электронные магазины Карта сайта
 
 

Поиск патентов

Как искать?
Реферат
Название
Публикация
Регистрационный номер
Имя заявителя
Имя изобретателя
Имя патентообладателя

    





Оформить заказ и задать интересующие Вас вопросы Вы можете напрямую c 6-00 до 14-30 по московскому времени кроме сб, вс. whatsapp 8-950-950-9888

На данной странице представлена ознакомительная часть выбранного Вами патента

Для получения более подробной информации о патенте (полное описание, формула изобретения и т.д.) Вам необходимо сделать заказ. Нажмите на «Корзину»


ПОГРУЖНОЙ ЦЕНТРОБЕЖНЫЙ НАСОСНЫЙ АГРЕГАТ

Номер публикации патента: 2435074

Вид документа: C2 
Страна публикации: RU 
Рег. номер заявки: 2009136112/06 
  Сделать заказПолучить полное описание патента

Редакция МПК: 
Основные коды МПК: F04D013/10   F04D029/62    
Аналоги изобретения: RU 2290541 С2, 27.12.2006. RU 35390 U1, 10.01.2003. RU 2310772 С1, 20.11.2007. GB 234546 А, 26.05.1925. US 5129452 A, 14.07.1992. 

Имя заявителя: Общество с ограниченной ответственностью "Нефтех" (RU) 
Изобретатели: Кудин Владимир Григорьевич (RU)
Рычков Юрий Васильевич (RU)
Сапухин Александр Валерьевич (RU) 
Патентообладатели: Общество с ограниченной ответственностью "Нефтех" (RU) 

Реферат


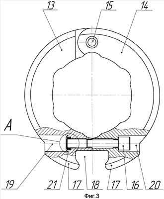
Изобретение относится к погружным центробежным насосным агрегатам в модульном исполнении для добычи пластовых жидкостей из наклонно-направленных скважин. Агрегат содержит погружной электродвигатель с гидрозащитой и кабелем, входной модуль, насосные секции и модуль-головку, соединенные между собой посредством фланцевых соединений. На фланцевые соединения установлены страховочные муфты, состоящие из двух полумуфт 13, 14 с фигурными ребрами 17 на периферийной части, шарнирно соединенных и скрепленных между собой посредством винта 16. Ребра 17 образуют при скреплении полумуфт 13, 14 канал 18 для размещения в нем кабеля. Длина страховочной муфты и ее фигурных ребер 17 равна длине шейки модуля насосного агрегата, на которую она плотно устанавливается. Изобретение повышает наработку на отказ насосных агрегатов, сокращает аварии, связанные с обрывом ("полетом") модулей агрегата и элементов подвески, уменьшает эксплуатационные затраты и обеспечивает дополнительную добычу нефти за счет уменьшения амплитуды поперечных колебаний (вибраций) насосного агрегата, исключения вхождения его в резонанс и защиты кабеля от механических повреждений. 1 з.п. ф-лы, 5 ил.

Дирекция сайта "Промышленная Сибирь"
Россия, г.Омск, ул.Учебная, 199-Б, к.408А
Сайт открыт 01.11.2000
© 2000-2018 Промышленная Сибирь
Разработка дизайна сайта:
Дизайн-студия "RayStudio"