Промышленная Сибирь Ярмарка Сибири Промышленность СФО Электронные торги НОУ-ХАУ Электронные магазины Карта сайта
 
 

Поиск патентов

Как искать?
Реферат
Название
Публикация
Регистрационный номер
Имя заявителя
Имя изобретателя
Имя патентообладателя

    





Оформить заказ и задать интересующие Вас вопросы Вы можете напрямую c 6-00 до 14-30 по московскому времени кроме сб, вс. whatsapp 8-950-950-9888

На данной странице представлена ознакомительная часть выбранного Вами патента

Для получения более подробной информации о патенте (полное описание, формула изобретения и т.д.) Вам необходимо сделать заказ. Нажмите на «Корзину»


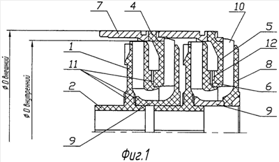
СТУПЕНЬ ПОГРУЖНОГО МНОГОСТУПЕНЧАТОГО ЦЕНТРОБЕЖНОГО НАСОСА

Номер публикации патента: 2413876

Вид документа: C1 
Страна публикации: RU 
Рег. номер заявки: 2009124329/06 
  Сделать заказПолучить полное описание патента

Редакция МПК: 
Основные коды МПК: F04D013/10   F04D029/02    
Аналоги изобретения: RU 2274769 C1, 20.04.2006. RU 2353814 C1, 10.07.2007. US 5133639 A, 28.07.1992. WO 9935405 A1, 15.07.1999. US 4172690 A, 30.10.1979. 

Имя заявителя: Трулев Алексей Владимирович (RU),
Трулев Юрий Владимирович (RU) 
Изобретатели: Трулев Алексей Владимирович (RU)
Трулев Юрий Владимирович (RU) 
Патентообладатели: Трулев Алексей Владимирович (RU)
Трулев Юрий Владимирович (RU) 

Реферат


Изобретение относится к гидромашиностроению и может быть использовано при разработке погружных многоступенчатых центробежных насосов для добычи нефти и пластовой жидкости из скважин с высоким содержанием свободного газа и механических примесей. Ступень насоса содержит рабочее колесо 1 с втулкой 2 и направляющий аппарат 4, состоящий из верхнего диска 5 с осевой опорой 6, нижнего диска 8 и лопаток 10. Верхний диск 5 с осевой опорой 6 изготовлен на наружной втулке 7 и выполнен из полимерного материала. Минимальный внутренний диаметр наружной втулки 7 составляет не менее семидесяти процентов от ее внешнего диаметра. Верхний диск 5 и наружная втулка 7 изготовлены из различных материалов. Изобретение направлено на повышение срока службы при работе на пластовой жидкости с повышенным содержанием солей, свободного газа и механических примесей. 7 з.п. ф-лы, 6 ил.

Дирекция сайта "Промышленная Сибирь"
Россия, г.Омск, ул.Учебная, 199-Б, к.408А
Сайт открыт 01.11.2000
© 2000-2018 Промышленная Сибирь
Разработка дизайна сайта:
Дизайн-студия "RayStudio"