Промышленная Сибирь Ярмарка Сибири Промышленность СФО Электронные торги НОУ-ХАУ Электронные магазины Карта сайта
 
 

Поиск патентов

Как искать?
Реферат
Название
Публикация
Регистрационный номер
Имя заявителя
Имя изобретателя
Имя патентообладателя

    





Оформить заказ и задать интересующие Вас вопросы Вы можете напрямую c 6-00 до 14-30 по московскому времени кроме сб, вс. whatsapp 8-950-950-9888

На данной странице представлена ознакомительная часть выбранного Вами патента

Для получения более подробной информации о патенте (полное описание, формула изобретения и т.д.) Вам необходимо сделать заказ. Нажмите на «Корзину»


ГЛУШИТЕЛЬ ШУМА

Номер публикации патента: 2406833

Вид документа: C1 
Страна публикации: RU 
Рег. номер заявки: 2009123185/06 
  Сделать заказПолучить полное описание патента

Редакция МПК: 
Основные коды МПК: F01N001/10   F04C029/06   F04D029/66    
Аналоги изобретения: RU 2311545 C2, 27.11.2007. RU 2289023 С2, 10.12.2006. RU 2306429 C1, 20.09.2007. US 2065343 A, 13.11.1930. US 4955643 A, 11.05.1976. 

Имя заявителя: Общество с ограниченной ответственностью "Интеллектуальные Сборочные Системы" (RU) 
Изобретатели: Устинов Виталий Валентинович (RU) 
Патентообладатели: Общество с ограниченной ответственностью "Интеллектуальные Сборочные Системы" (RU) 

Реферат


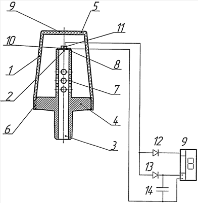
Глушитель предназначен для глушения аэродинамического шума пневматических двигателей. Глушитель шума содержит конический стакан из пористого материала, соосную со стаканом внутреннюю цилиндрическую втулку, впускной патрубок, выполненный в виде крышки, к которой жестко прикреплена внутренняя цилиндрическая втулка, причем стакан расположен днищем вверх и соединен резьбой с крышкой патрубка, во внутренней втулке выполнены отверстия, оси которых перпендикулярны оси втулки. Глушитель снабжен пьезоэлектрическим генератором и электронным частотомером, пьезоэлектрический генератор выполнен в виде мембраны с закрепленным на ней пьезоэлементом, внутренняя втулка имеет дополнительное отверстие, соосное со стаканом, на которое установлена мембрана пьезоэлектрического генератора, первый вывод пьезоэлемента через первый развязывающий элемент подключен к информационному входу электронного частотомера, через второй развязывающий элемент подключен к первому выводу входа питания электронного частотомера и первому выводу конденсатора, а второй вывод пьезоэлемента подключен ко второму выводу конденсатора и второму выводу входа питания электронного частотомера. Технический результат - расширение технологических возможностей путем измерения частоты звуковых импульсов, генерируемых пневматическим ротационным двигателем. 1 ил.

Дирекция сайта "Промышленная Сибирь"
Россия, г.Омск, ул.Учебная, 199-Б, к.408А
Сайт открыт 01.11.2000
© 2000-2018 Промышленная Сибирь
Разработка дизайна сайта:
Дизайн-студия "RayStudio"