Промышленная Сибирь Ярмарка Сибири Промышленность СФО Электронные торги НОУ-ХАУ Электронные магазины Карта сайта
 
 

Поиск патентов

Как искать?
Реферат
Название
Публикация
Регистрационный номер
Имя заявителя
Имя изобретателя
Имя патентообладателя

    





Оформить заказ и задать интересующие Вас вопросы Вы можете напрямую c 6-00 до 14-30 по московскому времени кроме сб, вс. whatsapp 8-950-950-9888

На данной странице представлена ознакомительная часть выбранного Вами патента

Для получения более подробной информации о патенте (полное описание, формула изобретения и т.д.) Вам необходимо сделать заказ. Нажмите на «Корзину»


КРЫШКА ПОДВОДА

Номер публикации патента: 2381389

Вид документа: C2 
Страна публикации: RU 
Рег. номер заявки: 2008103991/06 
  Сделать заказПолучить полное описание патента

Редакция МПК: 
Основные коды МПК: F04D029/42    
Аналоги изобретения: МАЛЮШЕНКО В.В., МИХАЙЛОВ А.К. Насосное оборудование тепловых электростанций. - М.: Энергия, 1975, с.101, рис.7-4. RU 2229626 С1, 27.05.2004. SU 253586 А, 30.09.1969. ЕР 1840379 А2, 03.10.2007. US 3859008 А, 07.01.1975. DE 3626754 А1, 11.02.1988. 

Имя заявителя: Общество с ограниченной ответственностью "Сумский машиностроительный завод" (UA) 
Изобретатели: Прокопенко Владимир Ильич (UA)
Шевченко Сергей Михайлович (UA)
Горбенко Александр Борисович (UA) 
Патентообладатели: Общество с ограниченной ответственностью "Сумский машиностроительный завод" (UA) 

Реферат


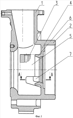
Изобретение относится к отрасли машиностроения и может использоваться в питательных насосах типа ПЭ, которые применяются на тепловых и атомных электростанциях. Крышка подвода включает входной патрубок 1 и цилиндрический корпус 2 с опорами 3. Внутри корпуса расположена перегородка 4, формирующая с корпусом 2 гидравлическую полость 5 подвода и полость размещения первой секции насоса. Перегородка 4 снабжена адаптером 6 и языком 7, выполненным в сечении в виде ромба со скругленными вершинами. Изобретение направлено на создание крышки подвода, совмещенной с адаптером 6 и языком 7. 2 ил.

Дирекция сайта "Промышленная Сибирь"
Россия, г.Омск, ул.Учебная, 199-Б, к.408А
Сайт открыт 01.11.2000
© 2000-2018 Промышленная Сибирь
Разработка дизайна сайта:
Дизайн-студия "RayStudio"