|
На данной странице представлена ознакомительная часть выбранного Вами патента
Для получения более подробной информации о патенте (полное описание, формула изобретения и т.д.) Вам необходимо сделать заказ. Нажмите на «Корзину»
| КОМПРЕССОРНАЯ УСТАНОВКА |  |
Номер публикации патента: 2184277 |  |
| Редакция МПК: | 7 | | Основные коды МПК: | F04D029/58 | | Аналоги изобретения: | RU 2169294 С1, 20.06.2001. SU 297806 А, 11.03.1997 SU 1076633 A, 28.02.1994. RU 2126515 C1, 20.02.1999. RU 2049269 С1, 27.11.1995. DE 3601546 А1, 04.07.1986. WO 91/05206 А1, 18.04.1991. |
| Имя заявителя: | Курский государственный технический университет | | Изобретатели: | Кобелев Н.С. | | Патентообладатели: | Курский государственный технический университет |
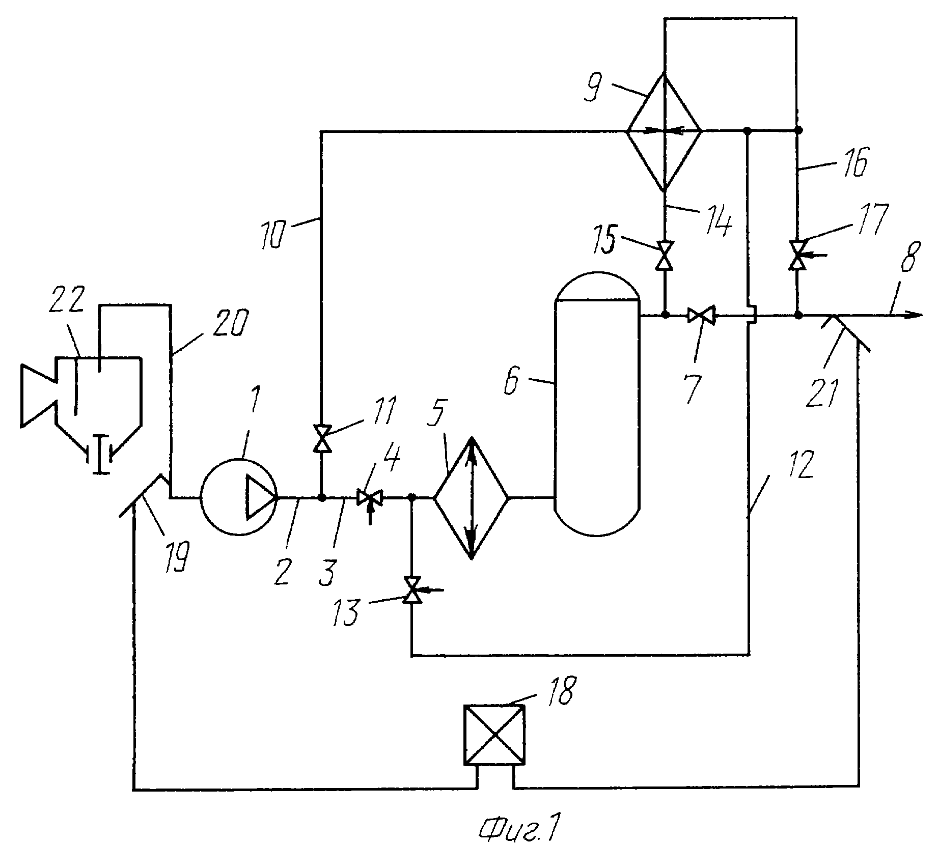
Реферат |  |
Установка предназначена для использования в горной промышленности на шахтных предприятиях, в народном хозяйстве при длительном воздействии минусовых температур. Установка содержит отражательную перегородку, выполненную из биметалла. Отражательная перегородка состоит из двух жестко соединенных пластин. Первая пластина со стороны выходного отверстия суживающегося сопла выполнена пористой. Вторая пластина сплошная. Обеспечивается снижение энергоемкости производства сжатого воздуха. 2 ил.
|