Промышленная Сибирь Ярмарка Сибири Промышленность СФО Электронные торги НОУ-ХАУ Электронные магазины Карта сайта
 
 

Поиск патентов

Как искать?
Реферат
Название
Публикация
Регистрационный номер
Имя заявителя
Имя изобретателя
Имя патентообладателя

    





Оформить заказ и задать интересующие Вас вопросы Вы можете напрямую c 6-00 до 14-30 по московскому времени кроме сб, вс. whatsapp 8-950-950-9888

На данной странице представлена ознакомительная часть выбранного Вами патента

Для получения более подробной информации о патенте (полное описание, формула изобретения и т.д.) Вам необходимо сделать заказ. Нажмите на «Корзину»


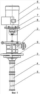
ВЕРТИКАЛЬНЫЙ НЕФТЯНОЙ ЭЛЕКТРОНАСОСНЫЙ АГРЕГАТ (ВАРИАНТЫ) И ВАЛОПРОВОД ВЕРТИКАЛЬНОГО ЭЛЕКТРОНАСОСНОГО АГРЕГАТА (ВАРИАНТЫ)

Номер публикации патента: 2468255

Вид документа: C1 
Страна публикации: RU 
Рег. номер заявки: 2011146981/06 
  Сделать заказПолучить полное описание патента

Редакция МПК: 
Основные коды МПК: F04D013/06   F04D009/04   F04D029/04    
Аналоги изобретения: RU 2305208 C1, 27.08.2007. RU 2327902 C1, 27.06.2008. RU 2002122004 A, 20.02.2004. GB 782533 A, 11.09.1957. US 3661474 A, 09.05.1972. 

Имя заявителя: Закрытое акционерное общество Научно-производственное объединение "ТЭН" (RU) 
Изобретатели: Валюхов Сергей Георгиевич (RU)
Житенёв Алексей Иванович (RU)
Житенёв Сергей Вячеславович (RU)
Печкуров Сергей Владимирович (RU)
Селиванов Николай Павлович (RU) 
Патентообладатели: Закрытое акционерное общество Научно-производственное объединение "ТЭН" (RU) 

Реферат


Группа изобретений относится к насосостроению, а именно к вертикальным электронасосным агрегатам для нефтяной и др. отраслей промышленности. Агрегат включает последовательно сообщенные электродвигатель, основной насос, трансмиссию, бустер и заборную трубу. Основной насос содержит вал ротора и не менее чем одну напорную секцию с крыльчаткой и направляющим аппаратом, подводящий канал, секцию отвода. В корпусе бустера размещен шнек с валом, на котором закреплена втулка с многозаходной крыльчаткой. Втулка содержит на входе антикавитационный участок, дополненный переходным участком с радиусом, возрастающим по ходу потока до радиуса выходного участка. Крыльчатка бустера выполнена с многоступенчатым возрастанием по ходу потока в геометрической прогрессии количества и числа заходности спиральных лопаток шнека. Секции основного насоса последовательно соединены с возможностью передачи в каждую последующую секцию и/или на выход в напорную линию давления, суммированного с давлением, создаваемым в каждой из предыдущих секций. Группа изобретений направлена на повышение стабильности и долговечности работы при увеличении КПД и снижении энергоемкости и перекачивания в безкавитационных режимах. 4 н. и 14 з.п. ф-лы, 5 ил.

Дирекция сайта "Промышленная Сибирь"
Россия, г.Омск, ул.Учебная, 199-Б, к.408А
Сайт открыт 01.11.2000
© 2000-2018 Промышленная Сибирь
Разработка дизайна сайта:
Дизайн-студия "RayStudio"