|
На данной странице представлена ознакомительная часть выбранного Вами патента
Для получения более подробной информации о патенте (полное описание, формула изобретения и т.д.) Вам необходимо сделать заказ. Нажмите на «Корзину»
| ГОРИЗОНТАЛЬНАЯ НАСОСНАЯ УСТАНОВКА |  |
Номер публикации патента: 2162163 |  |
| Редакция МПК: | 7 | | Основные коды МПК: | F04D013/06 | | Аналоги изобретения: | Промышленный каталог фирмы РЭДА. Горизонтальные насосные системы. Эксплуатация и обслуживание. - М., 1998, с.7 - 9. SU 928076 A, 19.05.1982. RU 2147083 C1, 27.03.2000. RU 2142067 C1, 27.11.1999. DE 2505570 A1, 13.11.1975. DE 1653721 B2, 05.07.1979. |
| Имя заявителя: | Открытое акционерное общество "Альметьевский насосный завод" | | Изобретатели: | Козлов Р.И. Лукина В.А. Смотрик Д.В. | | Патентообладатели: | Открытое акционерное общество "Альметьевский насосный завод" |
Реферат |  |
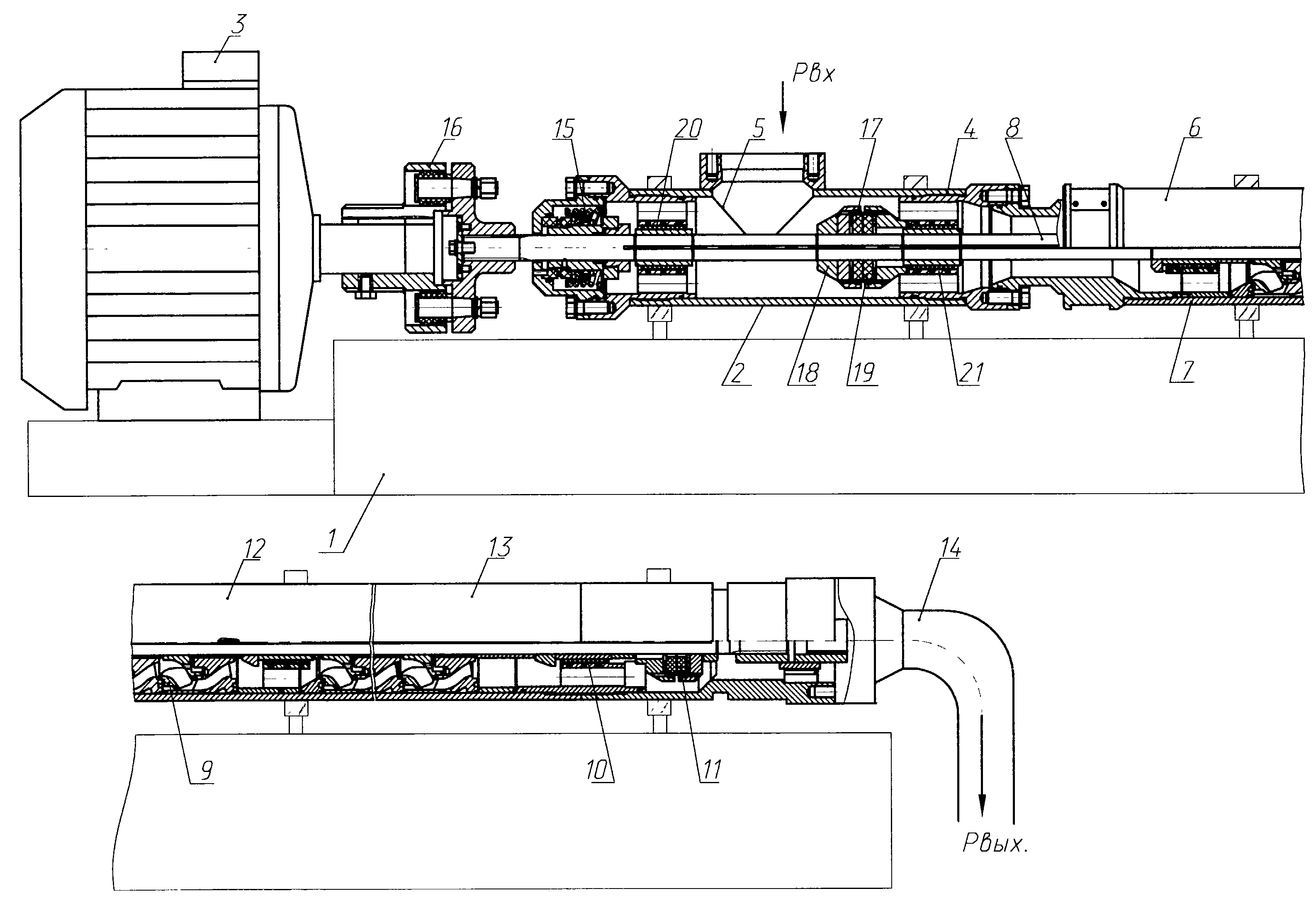
Горизонтальная насосная установка предназначена для закачки в пласт технологической жидкости, используемой в системе поддержания пластового давления. Установка содержит размещенные на опорной раме электродвигатель, входной модуль и горизонтальный центробежный насос, сочлененный с узлами всасывания и нагнетания. Горизонтальный центробежный насос выполнен секционным с возможностью подбора ступеней на требуемый напор. Первая секция насоса выполнена совмещенной с узлом входного модуля и расположена с ним на общем валу, уплотненном со стороны электродвигателя торцевым уплотнением. В узле входного модуля размещен упорный узел. Входной модуль содержит два дополнительных радиальных подшипника. Подшипники жестко фиксируют вал в радиальном направлении и предотвращают его биение, а устранение лишних соединительных элементов повышает эксплуатационную надежность и долговечность установки. 1 ил.
|