|
На данной странице представлена ознакомительная часть выбранного Вами патента
Для получения более подробной информации о патенте (полное описание, формула изобретения и т.д.) Вам необходимо сделать заказ. Нажмите на «Корзину»
| ДВУХСЕКЦИОННЫЙ РОЛИКОЛОПАСТНОЙ НАСОС |  |
Номер публикации патента: 2173795 |  |
| Редакция МПК: | 7 | | Основные коды МПК: | F04C002/08 | | Аналоги изобретения: | RU 2063515 С1, 10.07.1996. RU 2063514 С1, 10.07.1996. RU 2035624 С1, 20.05.1995. GB 1419173 A, 24.12.1975. DE 3905081 A1, 23.08.1990. |
| Имя заявителя: | Тярасов Герман Павлович | | Изобретатели: | Тярасов Г.П. | | Патентообладатели: | Тярасов Герман Павлович |
Реферат |  |
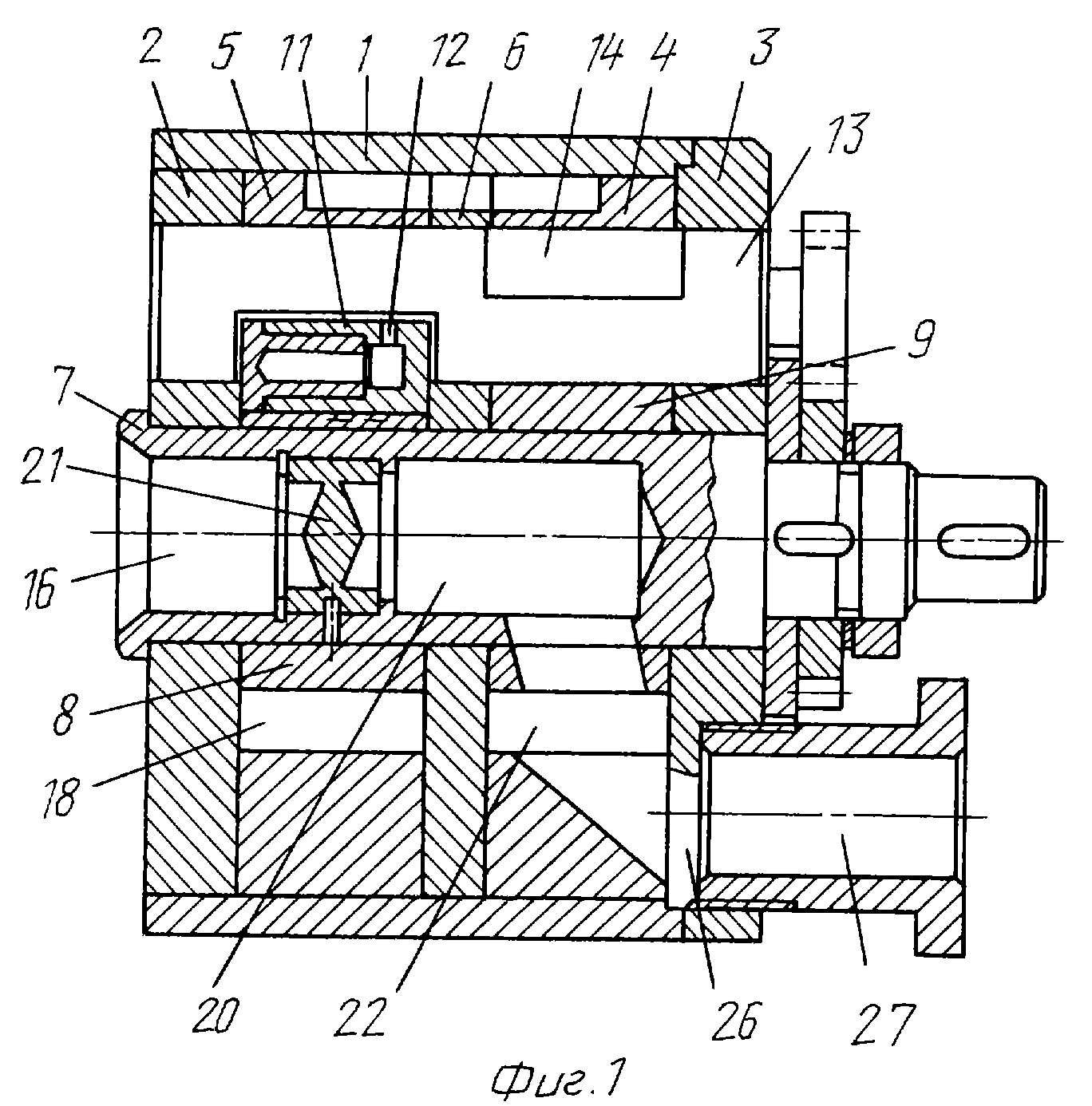
B области машиностроения, в частности в качестве быстроходных самовсасывающих технологических насосов в нефтеперерабатывающей, химической и в других отраслях промышленности. Двухсекционный роликолопастной насос содержит корпус с камерами рабочих секций, роторы с лопастями, замыкатели, зубчатый механизм синхронизации вращения роторов и замыкателей, каналы подвода и отвода рабочей среды, выполненные двухпоточными. Каналы подвода в первую секцию выполнены в виде боковых отверстий в одном из боковых дисков корпуса и центрального отверстия в вале, которое сообщено со второй секцией радиальными каналами, выполненными в одном из роторов, перепускные каналы между двумя секциями выполнены в обход замыкателей в виде выемок в разделительном диске, а в другом из боковых дисков выполнены нагнетательные отверстия. Уменьшаются гидромеханические потери, увеличивается КПД. 1 з.п. ф-лы, 5 ил.
|