Промышленная Сибирь Ярмарка Сибири Промышленность СФО Электронные торги НОУ-ХАУ Электронные магазины Карта сайта
 
 

Поиск патентов

Как искать?
Реферат
Название
Публикация
Регистрационный номер
Имя заявителя
Имя изобретателя
Имя патентообладателя

    





Оформить заказ и задать интересующие Вас вопросы Вы можете напрямую c 6-00 до 14-30 по московскому времени кроме сб, вс. whatsapp 8-950-950-9888

На данной странице представлена ознакомительная часть выбранного Вами патента

Для получения более подробной информации о патенте (полное описание, формула изобретения и т.д.) Вам необходимо сделать заказ. Нажмите на «Корзину»


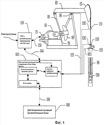
СПОСОБ И СИСТЕМА УПРАВЛЕНИЯ ПЕРЕМЕЩЕНИЕМ ШТОКА В СИСТЕМЕ ОТКАЧКИ ФЛЮИДА ИЗ СКВАЖИНЫ

Номер публикации патента: 2381384

Вид документа: C1 
Страна публикации: RU 
Рег. номер заявки: 2008118534/06 
  Сделать заказПолучить полное описание патента

Редакция МПК: 
Основные коды МПК: F04B049/06   F04B047/02    
Аналоги изобретения: US 6890156 B2, 10.05.2005. SU 1017820 A, 15.05.1983. US 6857474 B2, 03.04.2003. СА 2018119 А1, 01.12.1991. 

Имя заявителя: ПАМПВЕЛЛ СОЛЮШНЗ ЛТД. (CA) 
Изобретатели: ПАЛКА Кржиштоф (CA)
ЧИЖ Ярослав А. (CA) 
Патентообладатели: ПАМПВЕЛЛ СОЛЮШНЗ ЛТД. (CA) 

Реферат


В изобретении предлагаются способ и система для блока откачки с гибкой штанговой системой для обеспечения максимальной добычи флюида. Максимальный ход насоса и самое короткое время цикла рассчитывают на основании всех статических и динамических характеристик скважинных и поверхностных компонентов, без ограничения угловой скорости первичного двигателя. Ограничения, касающиеся конструкционной прочности и усталостной прочности, вводят в расчет оптимизации для обеспечения безопасной работы, при поддержании максимального откачиваемого объема и минимального потребления энергии. Расчетную оптимальную скорость первичного двигателя задают штанговому насосу при помощи станка-качалки с балансирным уравновешиванием, блока с большим ходом или гидравлического блока откачки, за счет управления скоростью, ускорением и вращающим моментом первичного двигателя или за счет регулировки давления и расхода в системе откачки штанговым насосом с гидравлическим управлением. Позволяет оптимизировать скорость первичного двигателя штангового насоса для максимального повышения добычи нефти, при одновременном снижении эксплутационных расходов и обеспечении работы с безопасным коэффициентом загрузки. 4 н. и 14 з.п.ф-лы, 6 ил.

Дирекция сайта "Промышленная Сибирь"
Россия, г.Омск, ул.Учебная, 199-Б, к.408А
Сайт открыт 01.11.2000
© 2000-2018 Промышленная Сибирь
Разработка дизайна сайта:
Дизайн-студия "RayStudio"