Промышленная Сибирь Ярмарка Сибири Промышленность СФО Электронные торги НОУ-ХАУ Электронные магазины Карта сайта
 
 

Поиск патентов

Как искать?
Реферат
Название
Публикация
Регистрационный номер
Имя заявителя
Имя изобретателя
Имя патентообладателя

    





Оформить заказ и задать интересующие Вас вопросы Вы можете напрямую c 6-00 до 14-30 по московскому времени кроме сб, вс. whatsapp 8-950-950-9888

На данной странице представлена ознакомительная часть выбранного Вами патента

Для получения более подробной информации о патенте (полное описание, формула изобретения и т.д.) Вам необходимо сделать заказ. Нажмите на «Корзину»


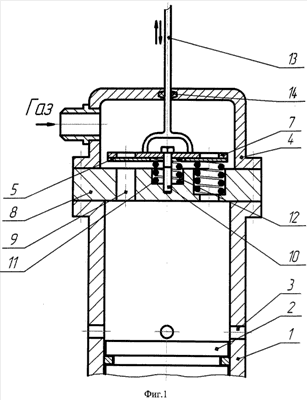
ПОРШНЕВАЯ РАСШИРИТЕЛЬНАЯ МАШИНА

Номер публикации патента: 2408796

Вид документа: C2 
Страна публикации: RU 
Рег. номер заявки: 2009109012/06 
  Сделать заказПолучить полное описание патента

Редакция МПК: 
Основные коды МПК: F04B039/10   F04B053/10    
Аналоги изобретения: RU 2183288 C2, 10.06.2002. RU 13060 U1, 20.03.2000. RU 2097576 C1, 27.11.1997. RU 11313 U1, 16.09.1999. RU 2206791 C2, 20.06.2003. US 5277560 A, 11.01.1994. 

Имя заявителя: Государственное образовательное учреждение высшего профессионального образования "Омский государственный технический университет" (RU) 
Изобретатели: Калекин Вячеслав Степанович (RU)
Калекин Дмитрий Вячеславович (RU) 
Патентообладатели: Государственное образовательное учреждение высшего профессионального образования "Омский государственный технический университет" (RU) 

Реферат


Устройство может быть использовано в качестве детандера, например, в холодильной технике, в качестве пневмодвигателя в горной промышленности для привода погрузочных машин, лебедок и др., автомобильного двигателя или в качестве газового двигателя в химической и газовой промышленности. Содержит цилиндр с поршнем и выхлопными окнами, впускной штуцер, крышку цилиндра, самодействующий нормально открытый впускной клапан с запорным элементом, подпружиненный ограничитель подъема, закрепленный между ограничителем подъема и клапанной доской в нижней части крышки цилиндра и направляющими винтами. Верхняя часть крышки цилиндра снабжена штангой-толкателем, обеспечивающим перемещение ограничителя подъема запорного элемента впускного клапана относительно клапанной доски. Позволяет повысить эффективность работы поршневой расширительной машины с изменяющимися давлениями сжатого газа на входе. 2 ил.

Дирекция сайта "Промышленная Сибирь"
Россия, г.Омск, ул.Учебная, 199-Б, к.408А
Сайт открыт 01.11.2000
© 2000-2018 Промышленная Сибирь
Разработка дизайна сайта:
Дизайн-студия "RayStudio"